EasyManua.ls Logo

LS tractor R4041 - Page 32

LS tractor R4041
125 pages
Print Icon
To Next Page IconTo Next Page
To Next Page IconTo Next Page
To Previous Page IconTo Previous Page
To Previous Page IconTo Previous Page
Loading...
Forward
Shuttle lever
Backward
The operation of shuttle lever must be done after the tractor has stopped
completely.
Do not operate shuttle lever while the tractor is moving, it may cause damage to the
synchromesh gears. (Synchro
-
shuttle).
Caution
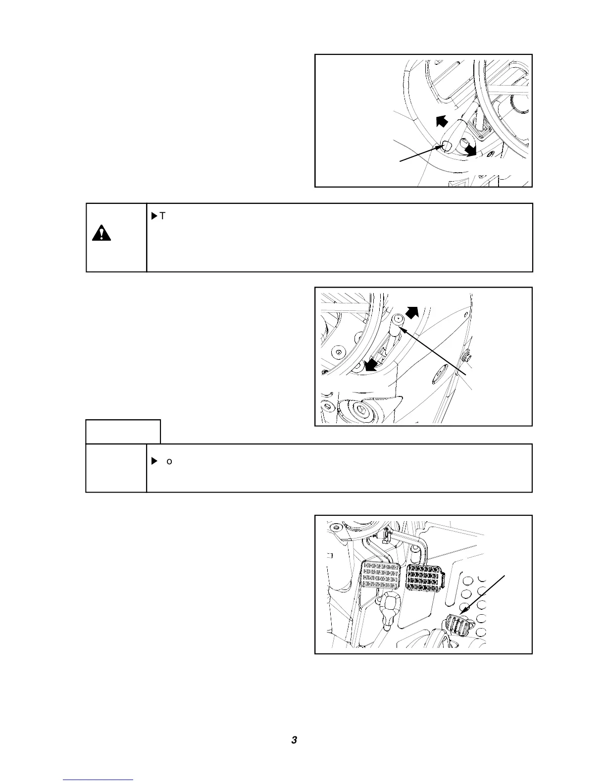
(1) Shuttle lever (Mechanical type)
It is used to select Forward / Reverse.
If you push the lever forward, it runs forward and
if you pull the lever back, it runs backward.
Before moving tractor backward, lower the
engine rpm and check behind you.
HST type
HST typeHST type
HST type
Do operate in the state more than 1500 rpm during driving or working after starting
the engine. Otherwise, it may cause some noise.
Notice
synchromesh gears. (Synchro
-
shuttle).
(2) Throttle lever
If you pull the lever backward, it means “Low
speed”,
and If push it forward, it means “High speed”.
The lever must be used only for the work and not
allowed to used while driving.
Throttle lever
High speed
Low speed
(3) Throttle
pedal (Mechanical
3
3 3
3 - 8
Throttle pedal
(3) Throttle
pedal (Mechanical
type)
This pedal is used when driving on the road.
When using the throttle pedal, the throttle lever
must be placed on “Low speed”.

Table of Contents

Related product manuals