EasyManua.ls Logo

Luma MF24B - Step 2: Connecting the Back Panel

Default Icon
15 pages
Print Icon
To Next Page IconTo Next Page
To Next Page IconTo Next Page
To Previous Page IconTo Previous Page
To Previous Page IconTo Previous Page
Loading...
7
Say Goodbye to Ugly Products
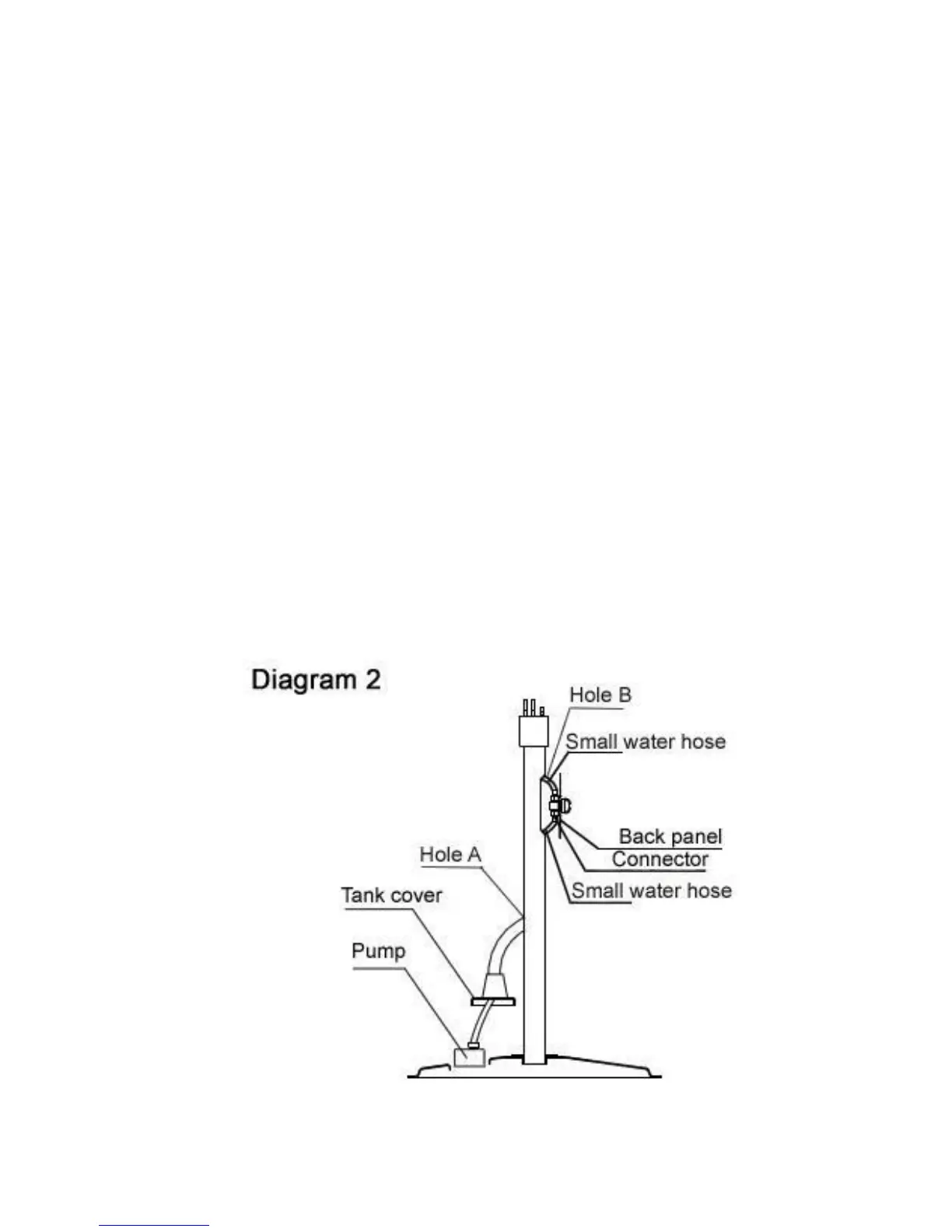
STEP 2: CONNECTING THE BACK PANEL
1. Refer to diagram 2. Find the rectangular panel located on the back of the
stand pole. Remove this back panel from the stand pole by completely
unscrewing it from the stand pole. Set it aside.
2. Locate the water pump. This is packaged separately from the stand pole
and can be found in box #1. You will see 2 water hoses (1 large and 1 small)
and 1 electric wire connected to the water pump. Thread the hoses and
wire into hole A (smaller, circular hole) and up the stand pole through hole
B (larger, elliptical shaped hole).
3. Locate the back panel removed in step 1 and orient it so that the label with
the fan speeds is located on top of the dial.
4. Take the small water hose from hole B and locate the connector that is
attached to the back panel. Connect the small water hose to the lower
valve opening on the connector.

Related product manuals