EasyManua.ls Logo

Lust CD 1 Series - Appendix A

Lust CD 1 Series
95 pages
To Next Page IconTo Next Page
To Next Page IconTo Next Page
To Previous Page IconTo Previous Page
To Previous Page IconTo Previous Page
Loading...
Verstärkermodul / Amplifier Module
CD_..1 / CD_..2
Nr. / No.: 181-00383
01.2003 87
Anhang - A
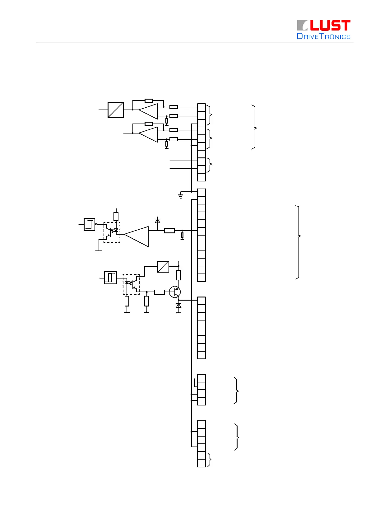
Übersicht der Steuereingänge Klemmenleiste X2
3
4
5
6
7
8
9
2
1
40
35
36
37
38
39
30
31
32
33
34
29
23
24
25
26
27
28
+5V
D
A
10
24V
5V
+
-
17
18
19
20
21
22
+24V
16
11
12
13
14
15
-10V
+10V
-
+
-
+
-
+
max. 5mA
Anlaufsperre (Option)
± 10V
max. 5mA
Monitor 1
GND
Monitor 2
GND
Strombegrenzung I^2 t
Motor Übertemperatur
Ballast Übertemperatur
Bremse lüften (n > 0)
Reglerversorgung
24 V DC, 1 A,
Reserve
+ 24 V
0 V
Betriebsbereit
nist = nsoll
n > n1
Freigabe der Hochlaufautomatik (HLA)
+ Bremse (Option)
C - Achs - Betrieb
Freigabe der Regelung
Freigabe der Endstufe
Endschalter 1 für Rechtslauf
Endschalter 2 für Linkslauf
GND 24V (extern)
- Bremse (Option)
Drehmomentenregelung
Fehler quittieren
Reserve
GND
Analogeingang 1
Analogeingang 2
Hilfsspannung
(Sollwerte)
Reserve
(Sollwerte)
max. ± 10 V
Ri = 20 k-Ohm
10V - 30V
Achtung! Geschirmte Leitungen verwenden. Diese Belegung gilt nur für die Standard Software.

Related product manuals