EasyManua.ls Logo

mabe MMI18CDBWCA6M8 - Indoor Unit

mabe MMI18CDBWCA6M8
Print Icon
To Next Page IconTo Next Page
To Next Page IconTo Next Page
To Previous Page IconTo Previous Page
To Previous Page IconTo Previous Page
Loading...
77
indoor unit
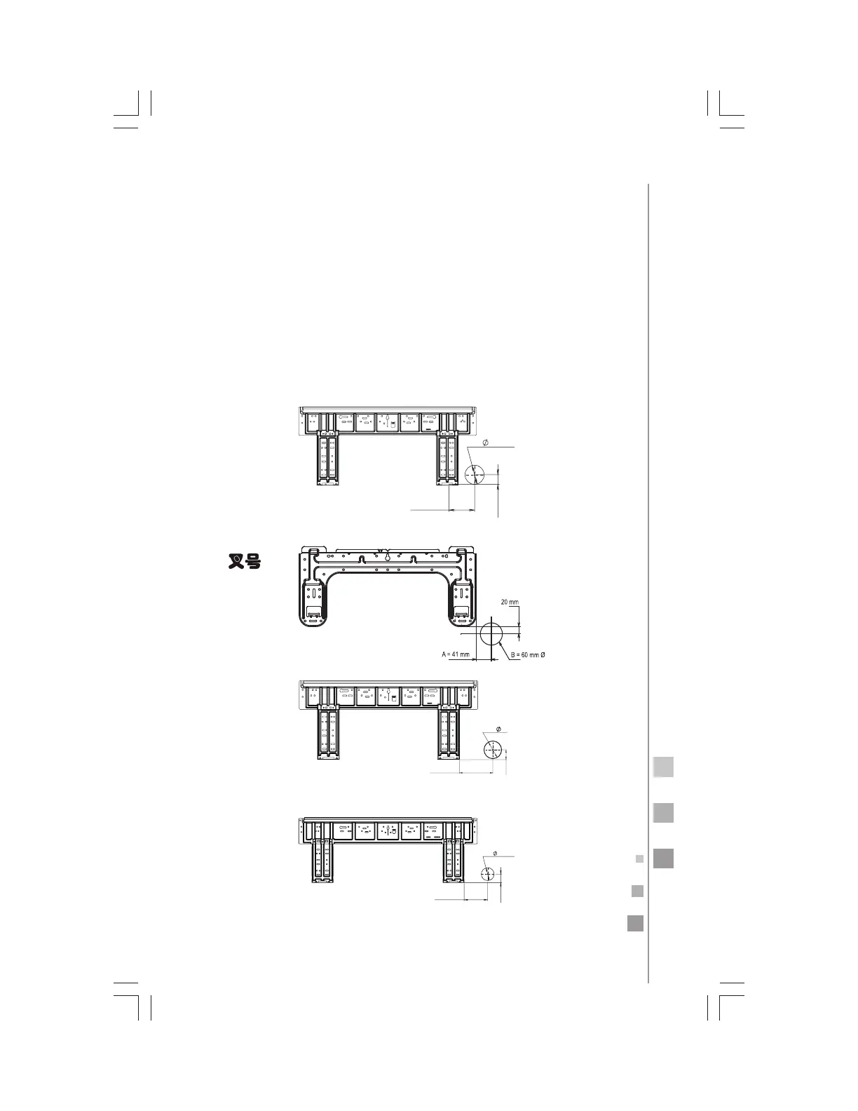
1. Fitting of the mounting plate and positioning of the wall
hole.
1. Carry out based on the neighboring pillars or lintels, a proper lev-
eling for the plate to be fixed against the wall, then temporarily
fasten the plate with one steel nail.
2. Check again the proper level of the plate by hanging a thread
with a weight from the central top of the plate, then fasten se-
curely the plate with the attachment steel nail.
3. Find the wall hole location "A" using a measuring tape.
When the mounting plate is first fixed
For some 12 000 BTU/h systems
For some 18 000 BTU/h and 24 000
BTU/h systems
For 24 000 BTU/h systems
Sistemas de 12 000 BTU/h
B=
60
mm
A=
80
mm
30
mm
B=
60
mm
35
mm
A=
120
mm
A=110mm
40mm
B=
60
mm

Other manuals for mabe MMI18CDBWCA6M8

Related product manuals