EasyManua.ls Logo

MAC TOOLS EM721 - Page 128

MAC TOOLS EM721
246 pages
Print Icon
To Next Page IconTo Next Page
To Next Page IconTo Next Page
To Previous Page IconTo Previous Page
To Previous Page IconTo Previous Page
Loading...
MACTOOLS.COM
128
PRUEBAS DEL SISTEMA DE CARGA
Los problemas con el sistema de carga, a menudo, se indican con una queja de que el vehículo no arranca.
Normalmente, la batería se ha descargado y el motor de arranque no gira el motor. Para comprobar el sistema
de carga de modo correcto, la batería debe estar completamente cargada. Recargue la batería por completo,
sies necesario, antes de continuar.
Para el diagnóstico y ajuste de reguladores/alternadores en un vehículo típico de GM, primero debe determinar si
el sistema tiene un regulador integral (interno). Luego, determine si es un alternador de tipo A o B. El alternador
de tipo A tiene una escobilla conectada al terminal (+) de la batería y la otra a tierra a través de un regulador.
El regulador de tipo B tiene una escobilla conectada a tierra y la otra al terminal (+) de la batería a través
delregulador. A continuación, aísle el problema al alternador o al regulador. Para hacer esto, necesita derivar
el regulador (esto se llama “desplegado completo”), ponga a tierra el terminal de campo de tipo A o conecte
elterminal de campo de tipo B al lado (+) de la batería. Si el sistema carga ahora, el regulador está defectuoso.
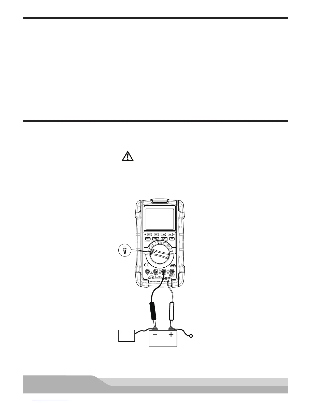
Prueba de tensión de salida del alternador en el terminal (+) de la batería
Esta prueba verica la tensión de salida del alternador a la batería.
ADVERTENCIA
AL REALIZAR ESTA PRUEBA, PONGA EL MOTOR EN RALENTÍ CON LAS LUCES ENCENDIDAS
DEMODO QUE LA TENSIÓN DE SALIDA NO SUPERE LOS 15 V. SI REALIZA LA COMPROBACIÓN
DEUNALTERNADORCON UN REGULADOR INTEGRAL, DEBE SABER QUÉ TIPO ESTÁ PROBANDO
PARAEVITARDAÑOS ALALTERNADOR O AL REGULADOR (CONSULTE EL TEXTO ANTERIOR).
Rojo
Negro
Batería de 12 V
Bloque
del
motor

Related product manuals