EasyManua.ls Logo

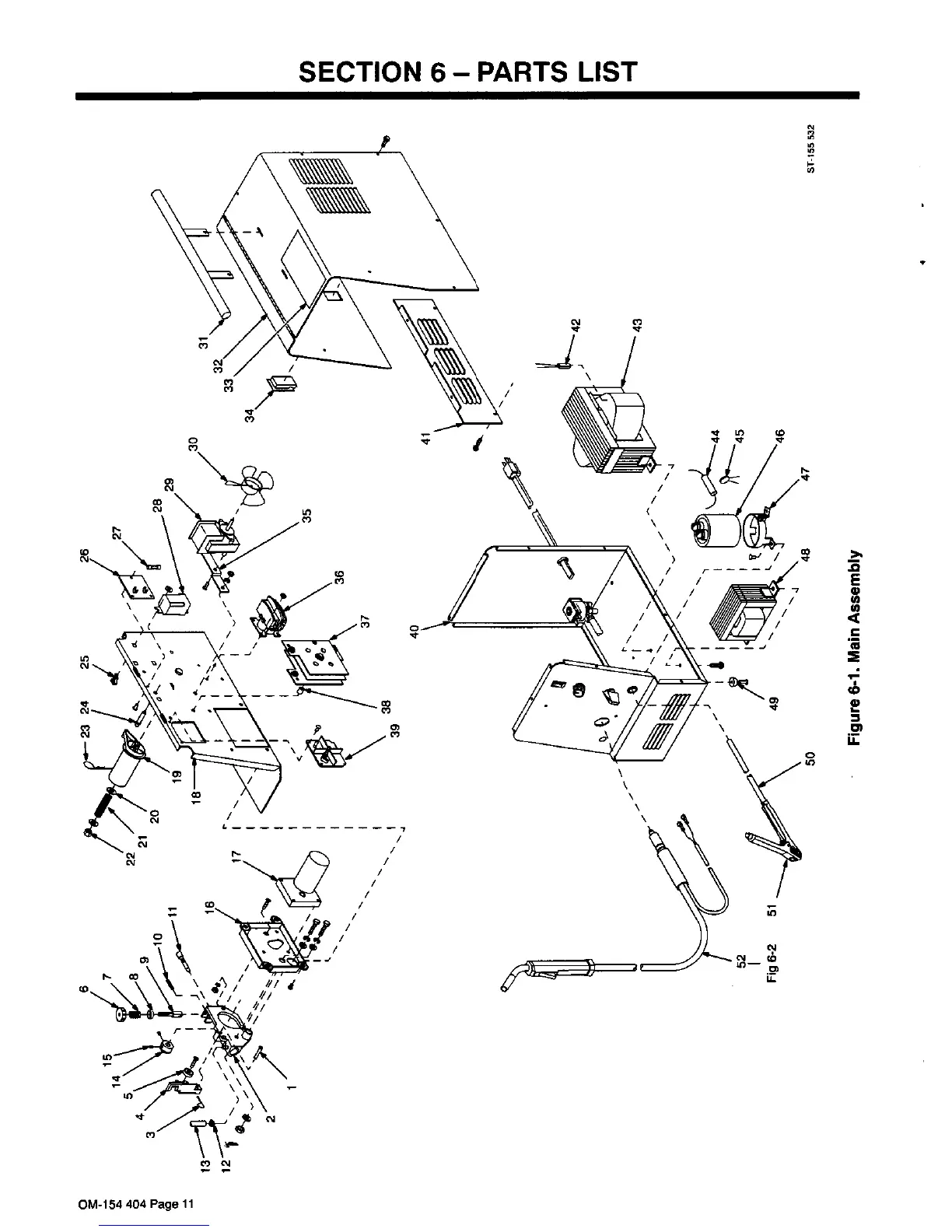
MAC TOOLS MW130 - SECTION 6 - PARTS LIST; Main Assembly Parts List; MWG-160 M Gun Parts List

MAC TOOLS MW130
17 pages
Print Icon
To Next Page IconTo Next Page
To Next Page IconTo Next Page
To Previous Page IconTo Previous Page
To Previous Page IconTo Previous Page
Loading...

Related product manuals