EasyManua.ls Logo

Maco Antennas Comet - Assembly Overview; General Assembly Guidelines; Element Cap Placement

Default Icon
7 pages
Print Icon
To Next Page IconTo Next Page
To Next Page IconTo Next Page
To Previous Page IconTo Previous Page
To Previous Page IconTo Previous Page
Loading...
r
BLACK
PLASTIC
CAP
(PL4)
REFLECTOR
-78”--.
\\\
1
l/2”
O.D. MAST
(CUSTOMER
FURNISHED)
.57
--l
P
GAMMA
MATCHES
\
DRIVEN
ELEMENT
RED PLASTIC
CAP
lDIRECTOR
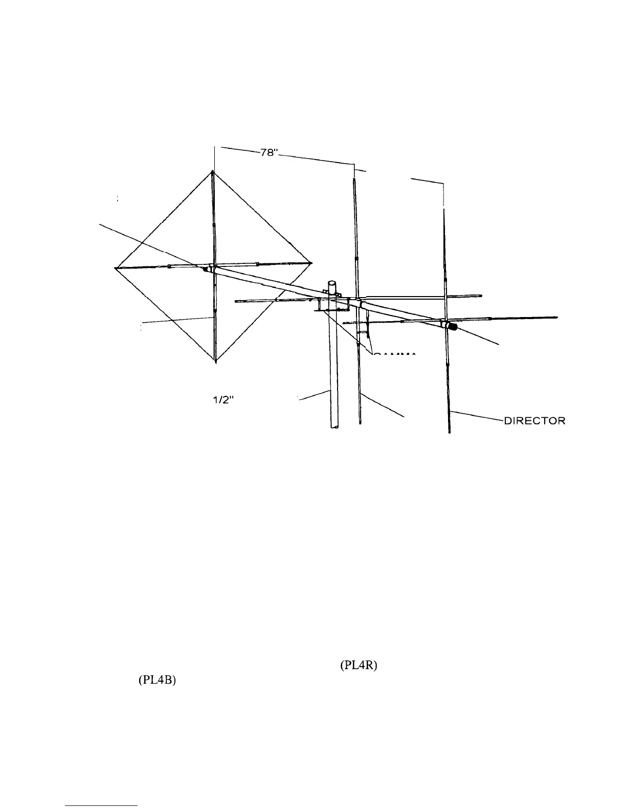
This figure shows what the antenna should look like when assembled. Specific assembly details are
shown on following pages. All hardware should be tightened securely, and then coated with silicon rubber
sealant or similar compound to prevent loosing from wind vibration .
Take care to locate all parts accurately per dimensions given.
Complete each step as instructed before
going onto the following steps.
After completing assembly, install red plastic cap (PL4R) on the director end of the boom, and the
black plastic cap (PL4B) on the reflector end.
This will enable you to tell at a glance the direction of transmit
and receive.
COMET
2

Related product manuals