EasyManua.ls Logo

Macro-Tech 3600VZ - AC Power Draw and Thermal Dissipation; Calculation Methods and Assumptions; Power Draw Data Table

Default Icon
41 pages
Print Icon
To Next Page IconTo Next Page
To Next Page IconTo Next Page
To Previous Page IconTo Previous Page
To Previous Page IconTo Previous Page
Loading...
Macro-Tech 3600VZ Power Amplifier
Page 36
Reference Manual
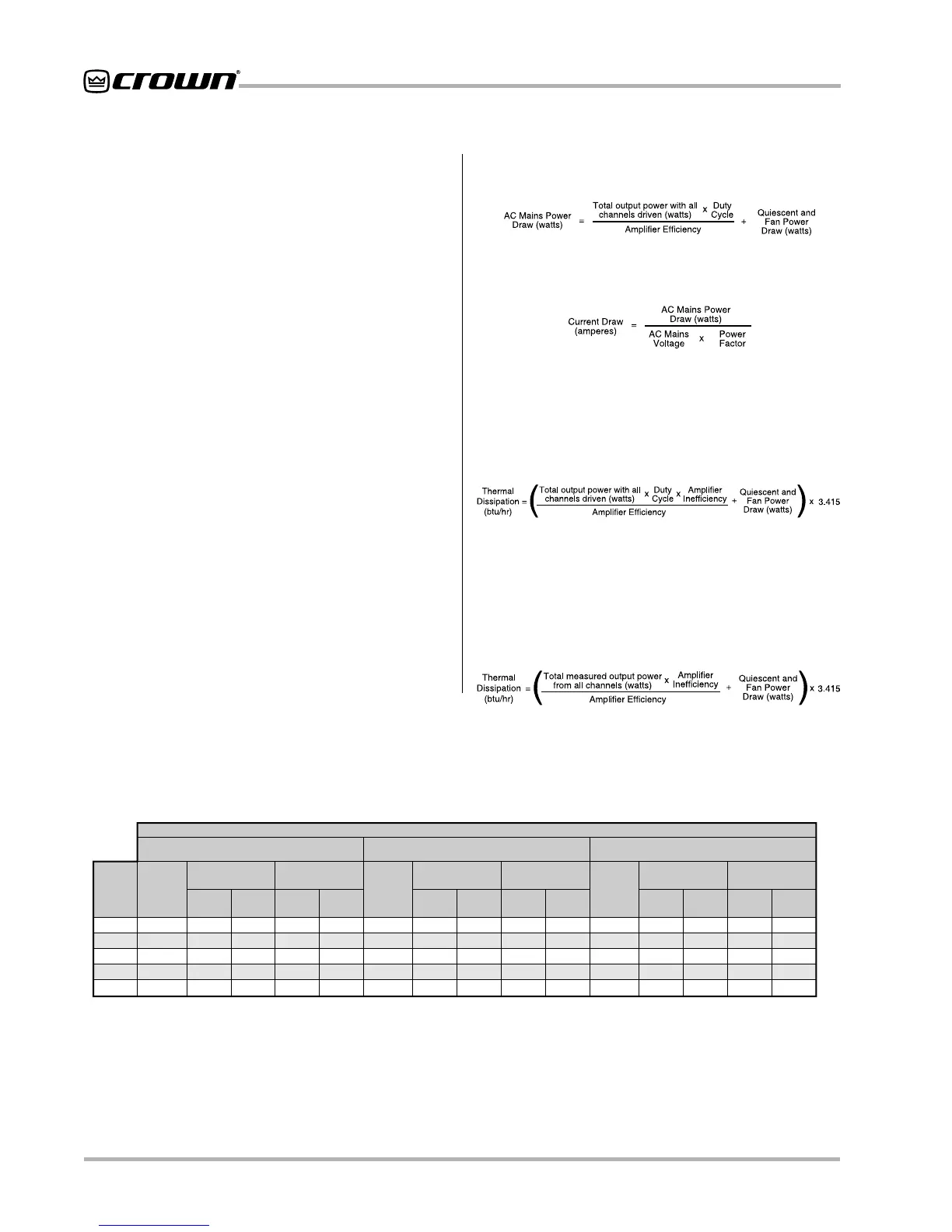
7 AC Power Draw and
Thermal Dissipation
This section provides detailed information about the
amount of power and current drawn from the AC mains
by the Macro-Tech 3600VZ, and the amount of heat pro-
duced under various conditions. The calculations pre-
sented here are intended to provide a very realistic and
reliable depiction of the amplifier. The following assump-
tions were made:
The amplifier’s available channels are loaded, and full,
standard 1 kHz power is being delivered.
The amplifier’s efficiency at standard 1 kHz power is
estimated to be 73%.
Quiescent power draw is 90 watts (an almost
negligible amount for full-power calculations).
Quiescent heat dissipation equals 105 btu/hr at
90 watts.
Duty cycle of pink noise is 50%.
Duty cycle of highly compressed rock ‘n’ roll midrange
is 40%.
Duty cycle of rock ‘n’ roll is 30%.
Duty cycle of background music is 20%.
Duty cycle of continuous speech is 10%.
Duty cycle of infrequent, short-duration paging is 1%.
8 Ohm Stereo / 4 Ohm Parallel-Mono
L O A D
50%
40%
30%
20%
10%
1,633
1,324
1,016
707
399
1,584
1,323
1,064
803
543
2,246
1,815
1,383
952
521
529
438
346
254
163
2,569
2,073
1,578
1,082
586
2,374
1,956
1,538
1,119
701
19.7
16.0
12.2
8.5
4.8
27.1
21.9
16.7
11.5
6.3
31.0
25.0
19.0
13.0
7.1
Duty
Cycle
AC Mains
Power
Draw
(Watts)
btu/hr
Current Draw (Amps)
8.9
7.3
5.6
3.9
2.2
12.3
9.9
7.6
5.2
2.9
14.1
11.4
8.6
5.9
3.2
4 Ohm Stereo / 8 Ohm Bridge-Mono / 2 Ohm Parallel-Mono 2 Ohm Stereo / 4 Ohm Bridge-Mono / 1 Ohm Parallel-Mono
Macro-Tech 3600VZ
399
333
268
202
137
kcal/hr
2,101
1,738
1,374
1,010
646
598
493
388
282
177
100-120 V 220-240 V
Thermal Dissipation
btu/hr
Current Draw (Amps)
kcal/hr100-120 V 220-240 V
Thermal Dissipation
btu/hr
Current Draw (Amps)
kcal/hr100-120 V 220-240 V
Thermal Dissipation
AC Mains
Power
Draw
(Watts)
AC Mains
Power
Draw
(Watts)
Fig. 7.1 Power Draw, Current Draw and Thermal Dissipation at Various Duty Cycles
Here are the equations used to calculate the data pre-
sented in Figures 7.1:
The following equation converts power draw in watts to
current draw in amperes:
The value used for Power Factor is 0.83. The Power Fac-
tor variable is needed to compensate for the difference
in phase between the AC mains voltage and current.
The following equation is used to calculate thermal dis-
sipation.
The value used for Amplifier Inefficiency is 0.27 (1.00–
0.73). The factor 3.415 converts watts to btu/hr. Thermal
dissipation in btu is divided by the constant 3.968 to get
kcal.
If you plan to measure output power under real-world
conditions, the following equation may also be helpful:

Table of Contents

Related product manuals