EasyManua.ls Logo

Man E0836 LE302 - Page 62

Man E0836 LE302
82 pages
Print Icon
To Next Page IconTo Next Page
To Next Page IconTo Next Page
To Previous Page IconTo Previous Page
To Previous Page IconTo Previous Page
Loading...
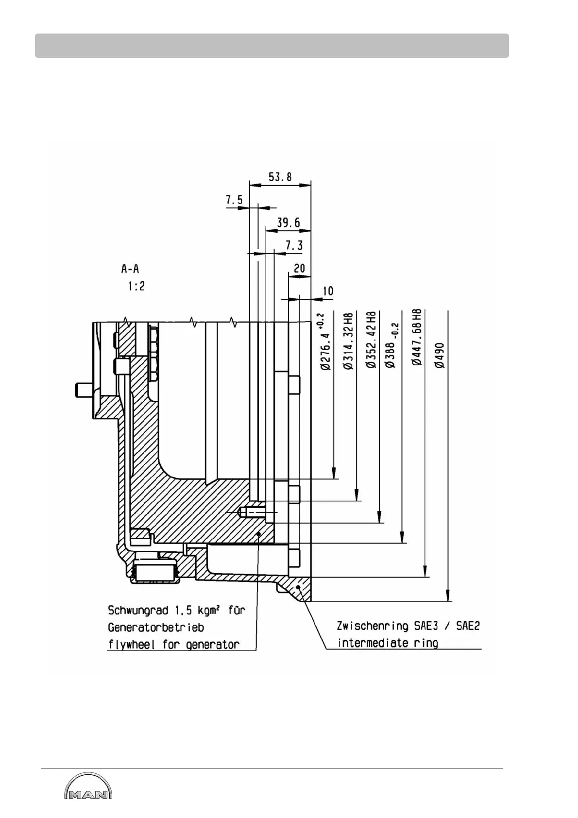
Installation Drawings of the Engine E0834 LE302
60
Identification no. of installation drawing: 51.00504-7109,
drawn September 03, 2012

Table of Contents

Other manuals for Man E0836 LE302

Related product manuals