EasyManua.ls Logo

Marantz Professional PMD325 - Page 44

Marantz Professional PMD325
52 pages
Print Icon
To Next Page IconTo Next Page
To Next Page IconTo Next Page
To Previous Page IconTo Previous Page
To Previous Page IconTo Previous Page
Loading...
ENGLISH
40
Precautions for discs recorded using MP3
files
The format of the files played have the .mp3 or .MP3
extension. Files with any other extension cannot be played.
The Joliet file system, an extension to the ISO9660 file
format, is supported as the write format. Both mode 1 (CD-
ROM) and mode 2 (CD-ROM XA) are supported. MP3 file
discs recorded using packet writing cannot be played.
The supported MP3 file sampling frequency is 16 kHz 48
kHz and the bit rate is 32 kbps 320 kbps.
44.1kHz, 128kbps are recommended for the unit.
The maximum number of characters in the ID3 tag
information that can be displayed by this player is 32.
Characters other than alphanumerics will not be displayed
properly. Japanese characters cannot be displayed.
Digital signals are not output from the player while playing
discs recorded using MP3 files.
It may not be possible for CD-R/CD-RW discs on which
MP3 files were recorded to be played properly depending
on the environment of the personal computer used to record
the files, the writing software program and the CD-R/CD-
RW discs concerned. Check the external components
used.
MP3 files on mixed CDs or enhanced CDs containing a
mixture of the CD-DA format for music purposes and MP3
files cannot be played. Only the CD-DA format for music
purposes will be played.
This player also supports discs created by multisessions.
It is recommended that the maximum number of sessions
on a CD-R or CD-RW disc be 10, the maximum number of
albums for all sessions be 20 and the maximum number of
files be 200.
Functions not supported by MP3 play
The following functions are not supported when the player
is to play discs recorded with MP3 files.
- A-B repeat
- Program play
- Delete program play
- Index skip
- End monitor
- Manual cue
- Auto cue
- Time mode changes
- End warning
Concerning random play
Random play proceeds on an album by album (folder by
folder) basis. When all the tracks of the album currently playing
have been played, play moves on to the next album in the
sequence.
During random play, the 1-track repeat and A-B repeat
functions cannot be used.
OTHER FUNCTIONS
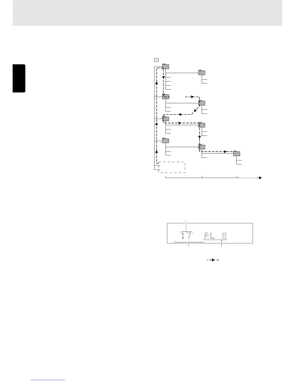
Example of play sequence
Diagram showing sequence as displayed by Win-
dows Explorer
Display that appears when the disc shown above is
inserted (in the stop mode)
The dotted line with arrow ( ) indicates the sequence
in which the MP3 albums and tracks are played.
Album 01 to album 10
In the example shown in the figure, this CD-ROM has 10
albums (folders) but albums 03 and 08 are not MP3 files
and so cannot be played.
AAAA01.mp3 to gggg17.mp3
In the example shown in the figure, this CD-ROM has 17
tracks starting with track 01 and ending with track 17.
Only those files with the .mp3 extension are played; all
other files with the .wav, .jpg, .doc and other extensions
are skipped.
Album 01 is allocated even when there are no files in the
root.
The sequence may differ from the one that appears on the
personal computer. It may also differ depending on the
writing software program.
aaaa05.mp3
aaaa06.mp3
bbbb07.mp3
bbbb08.mp3
cccc09.mp3
cccc10.mp3
aaaa04.mp3
aaaa03.mp3
yyyy.jpg
zzzz.doc
dddd11.mp3
dddd12.mp3
AAAA01.mp3
BBBB02.mp3
eeee13.mp3
eeee14.mp3
gggg16.mp3
gggg17.mp3
wwww.wav
xxxx.wav
ffff15.mp3
Album 02
Album 04
Album 05
Album 03
Album 06
Album 07
Album 10
Album 01
Album 08
Root
Album 09
(E)
CD-ROM drive
Play up to 8 hierarchical levels possible
12 4 56 7 910
TTL
TRK
MP3
Total number of tracks
Album that contains MP3 files
Total number of MP3 albums

Related product manuals