EasyManua.ls Logo

Marantz SD1010 - Page 25

Marantz SD1010
44 pages
Print Icon
To Next Page IconTo Next Page
To Next Page IconTo Next Page
To Previous Page IconTo Previous Page
To Previous Page IconTo Previous Page
Loading...
e
(U):
for
U.S.A.
e
(C):
for
Canada
e
(N):
for
Europe
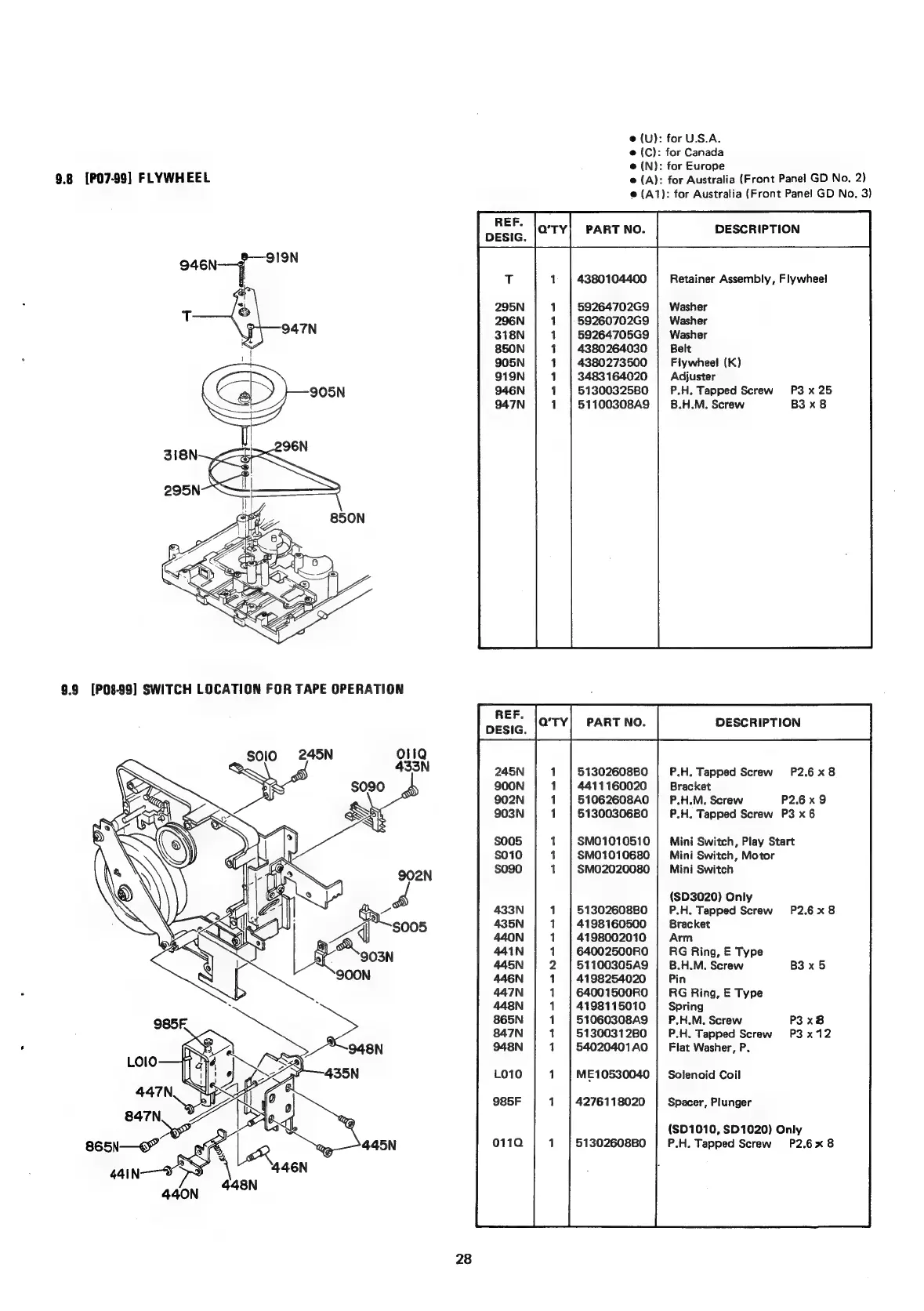
9.8
[P07-99]
FLYWHEEL
e
(A):
for
Australia
(Front
Panel
GD
No.
2)
e
(A1):
for
Australia
(Front
Pane!
GD
No.
3)
eee
lore
PART
NO.
DESCRIPTION
4380104400
Retainer
Assembly,
Flywheel
59264702G9
|
Washer
59260702G9
|
Washer
59264705G9
|
Washer
4380264030
Belt
4380273500
Fiywheel
(K)
3483
164020
Adjuster
5130032580
P.H.
Tapped
Screw
P3
x
25
51100308A9
|
B.H.M.
Screw
B3
x
8
Solio
4
245N
O1iQ
45
5130260880
|
P.H.
Tapped
Screw
P2.6x8
4411160020
|
Bracket
51062608A0
|
P.H.M.
Screw
P2.6
x9
51300306B0
|
P.H.
Tapped
Screw
P3
x6
SM01010510
|
Mini
Switch,
Play
Start
$MO01010680
|
Mini
Switch,
Motor
$SM02020080
|
Mini
Switch
(SD3020)
Only
51302608B0
P.H.
Tapped
Screw
P2.6x8
4198160500
Bracket
4198002010
Arm
64002500R0
RG
Ring,
E
Type
51100305A9
|;
B.H.M.
Screw
4198254020
Pin
64001500R0
RG
Ring,
E
Type
4198115010
Spring
51060308A9
|
P.H.M.
Screw
51300312B0
P.H.
Tapped
Screw
54020401
A0
Flat
Washer,
P.
ME10530040
|
Solenoid
Coil
4276118020
Spacer,
Plunger
(SD1010,
$D1020)
Only
5130260880
P.H.
Tapped
Screw
P2.6x8
28

Related product manuals