EasyManua.ls Logo

Marantz SD4000 - Chassis Reverse Assembly Parts

Marantz SD4000
47 pages
Print Icon
To Next Page IconTo Next Page
To Next Page IconTo Next Page
To Previous Page IconTo Previous Page
To Previous Page IconTo Previous Page
Loading...
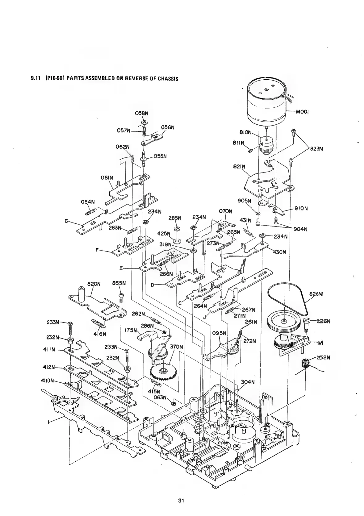
9.11
{P10-99]
PARTS
ASSEMBLED
ON
REVERSE
OF
CHASSIS

Related product manuals