EasyManua.ls Logo

Marantz SD4050 /N1B - Page 17

Marantz SD4050 /N1B
20 pages
Print Icon
To Next Page IconTo Next Page
To Next Page IconTo Next Page
To Previous Page IconTo Previous Page
To Previous Page IconTo Previous Page
Loading...
23
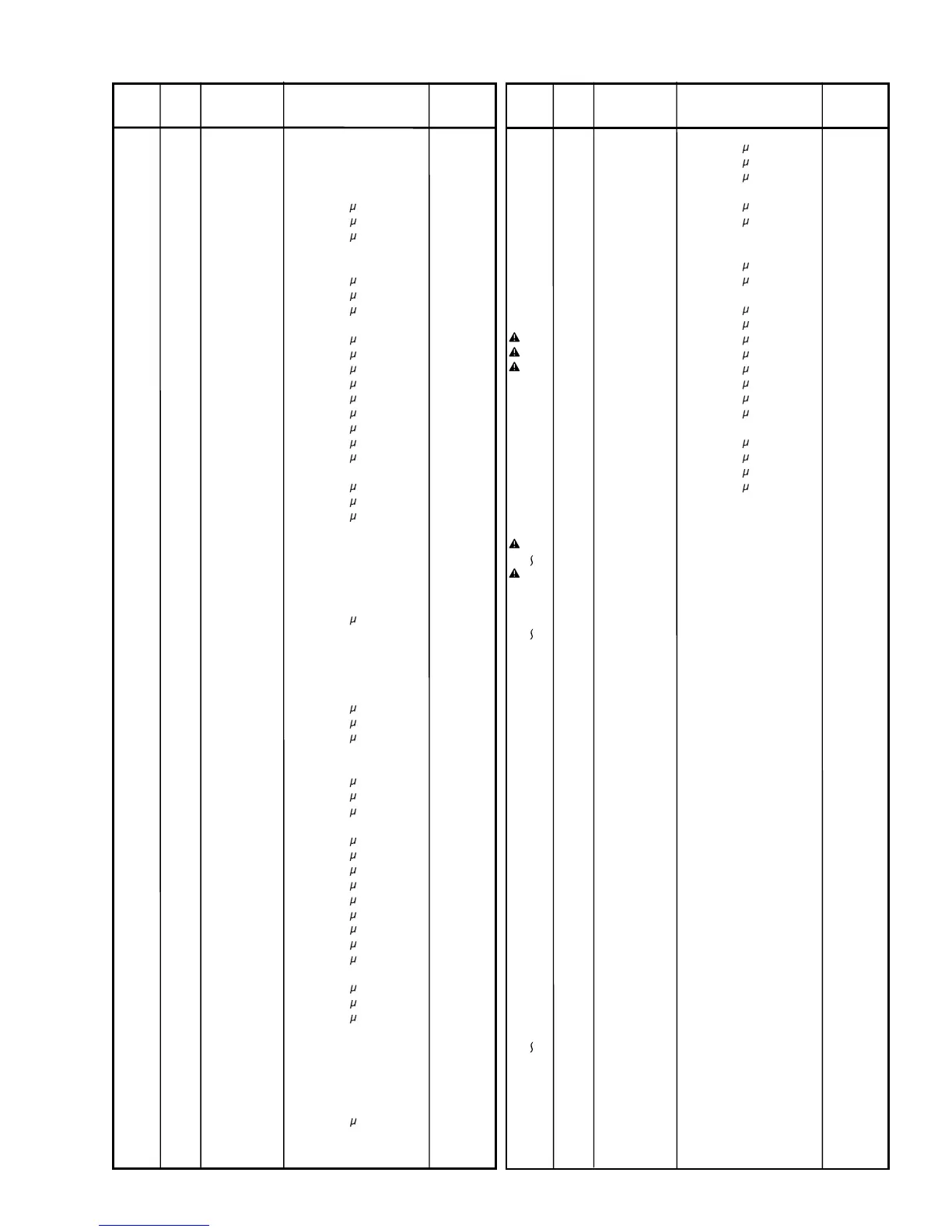
POS.
NO
VERS.
COLOR
PART NO.
(FOR PCS)
DESCRIPTION
PART NO.
(MJI)
(VERS. :VERSION, U:U.S.A., F:JAPAN, K:FAR EAST, N:EUROPE)
POS.
NO
VERS.
COLOR
PART NO.
(FOR PCS)
DESCRIPTION
PART NO.
(MJI)
(VERS. :VERSION, U:U.S.A., F:JAPAN, K:FAR EAST, N:EUROPE)
MAIN CIRCUIT BOARD
CAPACITORS
C101 nsp CER. 330pF 50V nsp
C102 nsp CER. 330pF 50V nsp
C103 nsp Mylar 0.027 F 100V nsp
C104 nsp ELECT 220 F 10V nsp
C105 nsp ELECT 2.2 F 50V nsp
C106 nsp CER. 1000pF 50V nsp
C107 nsp CER. 1000pF 50V nsp
C108 nsp Mylar 0.027 F 100V nsp
C109 nsp ELECT 220 F 10V nsp
C110 nsp ELECT 2.2 F 50V nsp
C111 nsp CER. 1000pF 50V nsp
C112 nsp ELECT 1 F 50V nsp
C113 nsp ELECT 10 F 16V nsp
C114 nsp CER. 0.1 F 50V nsp
C115 nsp Mylar 0.068 F 100V nsp
C116 nsp ELECT 10 F 16V nsp
C119 nsp CER. 0.01 F 50V nsp
C120 nsp ELECT 0.47 F 50V nsp
C121 nsp ELECT 10 F 16V nsp
C122 nsp ELECT 10 F 16V nsp
C123 nsp CER. 150pF 50V nsp
C124 nsp CER. 0.01 F 50V nsp
C125 nsp Mylar 0.047 F 100V nsp
C126 nsp Mylar 0.022 F 100V nsp
C127 nsp CER. 560pF 50V nsp
C129 nsp CER. 100pF 50V nsp
C130 nsp Poly 200pF 100V nsp
C131 nsp CER. 1000pF 50V nsp
C132 nsp CER. 100pF 50V nsp
C133 nsp CER. 470pF 50V nsp
C134 nsp ELECT 4.7 F 50V nsp
C135 nsp CER. 1000pF 50V nsp
C136 nsp CER. 220pF 50V nsp
C201 nsp CER. 330pF 50V nsp
C202 nsp CER. 330pF 50V nsp
C203 nsp Mylar 0.027 F 100V nsp
C204 nsp ELECT 220 F 10V nsp
C205 nsp ELECT 2.2 F 50V nsp
C206 nsp CER. 1000pF 50V nsp
C207 nsp CER. 1000pF 50V nsp
C208 nsp Mylar 0.027 F 100V nsp
C209 nsp ELECT 220 F 10V nsp
C210 nsp ELECT 2.2 F 50V nsp
C211 nsp CER. 1000pF 50V nsp
C212 nsp ELECT 1 F 50V nsp
C213 nsp ELECT 10 F 16V nsp
C214 nsp CER. 0.1 F 50V nsp
C215 nsp Mylar 0.068 F 100V nsp
C216 nsp ELECT 10 F 16V nsp
C219 nsp CER. 0.01 F 50V nsp
C220 nsp ELECT 0.47 F 50V nsp
C221 nsp ELECT 10 F 16V nsp
C222 nsp ELECT 10 F 16V nsp
C223 nsp CER. 150pF 50V nsp
C224 nsp CER. 0.01 F 50V nsp
C225 nsp Mylar 0.047 F 100V nsp
C226 nsp Mylar 0.022 F 100V nsp
C227 nsp CER. 560pF 50V nsp
C229 nsp CER. 100pF 50V nsp
C230 nsp Poly 200pF 100V nsp
C231 nsp CER. 1000pF 50V nsp
C232 nsp CER. 100pF 50V nsp
C233 nsp CER. 470pF 50V nsp
C234 nsp ELECT 0.47 F 50V nsp
C235 nsp CER. 1000pF 50V nsp
C236 nsp CER. 220pF 50V nsp
C301 nsp ELECT 1 F 50V nsp
C302 nsp ELECT 10 F 16V nsp
C303 nsp ELECT 10 F 16V nsp
C304 nsp CER. 10pF 50V nsp
C305 nsp ELECT 10 F 25V nsp
C306 nsp ELECT 100 F 25V nsp
C307 nsp Mylar 3900pF 100V nsp
C308 nsp Mylar 3900pF 100V nsp
C309 nsp Poly 0.01 F 100V nsp
C310 nsp CER. 0.01 F 50V nsp
C311 nsp CER. 560pF 50V nsp
C315 nsp ELECT 100 F 10V nsp
C318 nsp CER. 0.01 F 50V nsp
C320 4822 124 81133 ELECT 4700 F 25V OA47802520
C321 9965 000 01137 ELECT 2200 F 16V *EA000670R
C322 9965 000 01137 ELECT 2200 F 16V *EA000670R
C323 nsp ELECT 100 F 16V nsp
C324 nsp ELECT 100 F 10V nsp
C325 nsp ELECT 100 F 10V nsp
C329 nsp CER. 1000pF 50V nsp
C340 nsp ELECT 220 F 10V nsp
C342 nsp ELECT 4.7 F 50V nsp
C343 nsp Mylar 0.01 F 100V nsp
C344 nsp ELECT 100 F 16V nsp
DIODES
D1 9965 000 01139 LED. RED LH2041 *HI100830R
D24
4822 130 31878 1N4003 HD200010AR
D29
D101 4822 130 32778 1SS133 HD20015210
D201 4822 130 32778 1SS133 HD20015210
D302
4822 130 32778 1SS133 HD20015210
D305
D307 4822 130 31878 1N4003 HD200010AR
D308 4822 130 32778 1SS133 HD20015210
D309 4822 130 32778 1SS133 HD20015210
D313 9965 000 01138 Zener Diode MTZJ4.7C *HD301690R
INTEGRATED CIRCUITS
U301 4822 209 14617 UPC4570C *HC103780R
U303 4822 209 14617 UPC4570C *HC103780R
U302 4822 209 61973 BU4066BC HC406621B0
U304 4822 209 61973 BU4066BC HC406621B0
U305 4822 209 16073 CXA1561S *HC104140R
U306 4822 209 61973 BU4066BC HC406621B0
U307 4822 209 83631 NJM4558D HC10003090
U308 4822 209 16849 CXA1598S *HC105090R
U309 4822 209 63181 TC4051BP HC405105B0
U310 4822 209 72874 UPC1297CA HC100100AR
U312 4822 209 83631 NJM4558D HC10003090
TRANSISTORS
U101 4822 130 42683 DTC124ES BA20024210
U201 4822 130 42683 DTC124ES BA20024210
U321 4822 130 42683 DTC124ES BA20024210
U322 4822 130 42683 DTC124ES BA20024210
U324 4822 130 42683 DTC124ES BA20024210
U325 4822 130 42683 DTC124ES BA20024210
U327
4822 130 42593 DTA124ES BA10016210
U332
U335 4822 130 42593 DTA124ES BA10016210
U336 4822 130 42593 DTA124ES BA10016210
U337 4822 130 42593 DTA124ES BA10016210
U339 4822 130 42683 DTC124ES BA20024210
U340 4822 130 42683 DTC124ES BA20024210
U341 4822 130 42593 DTA124ES BA10016210