EasyManua.ls Logo

Marmitek Split TS14 - Aansluitschema; Achterzijde; Linkerzijde; Rechterzijde

Marmitek Split TS14
52 pages
Print Icon
To Next Page IconTo Next Page
To Next Page IconTo Next Page
To Previous Page IconTo Previous Page
To Previous Page IconTo Previous Page
Loading...
© MARMITEK
46
Active Speak ers
Blu-ray player
Active Speak ers
POW ER
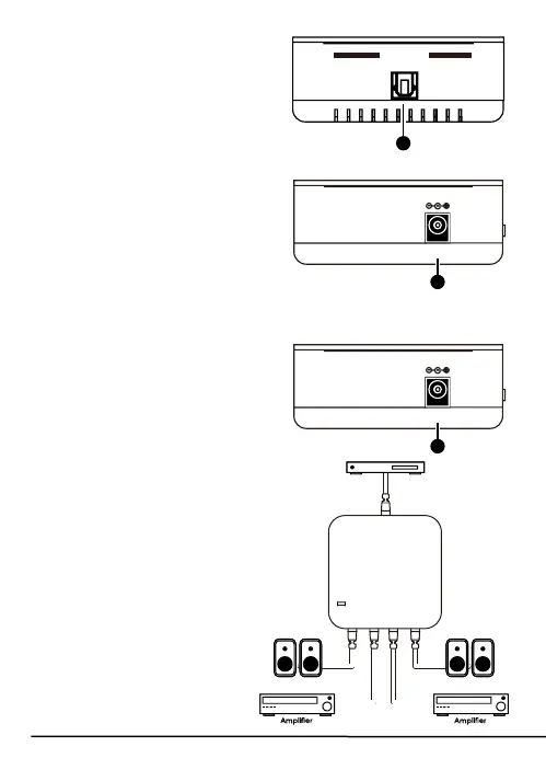
6.2 Linkerzijde
1. Optical In: Sluit uw audio
bron aan op deze
ingangen met een
optische (Toslink)
digitale audio kabel (niet
meegeleverd).
6.3 Rechterzijde
1. Optical Out: Sluit uw
audio versterker of
actieve speakers aan op
deze uitgangen met een
optische (Toslink)
digitale audio kabel (niet
meegeleverd).
6.4 Achterzijde
1. DC 5V: Sluit de
voedingsadapter
(meegeleverd) aan en
steek deze in het
stopcontact.
7 Aansluitschema
OPTICAL IN
1
DC 5V
1
DC 5V
1

Table of Contents

Related product manuals