EasyManua.ls Logo

Marvel MO15C Series - Page 22

Marvel MO15C Series
72 pages
Print Icon
To Next Page IconTo Next Page
To Next Page IconTo Next Page
To Previous Page IconTo Previous Page
To Previous Page IconTo Previous Page
Loading...
22
Clearance for
screw head,
4 places
Clearance
for hinge
2 places
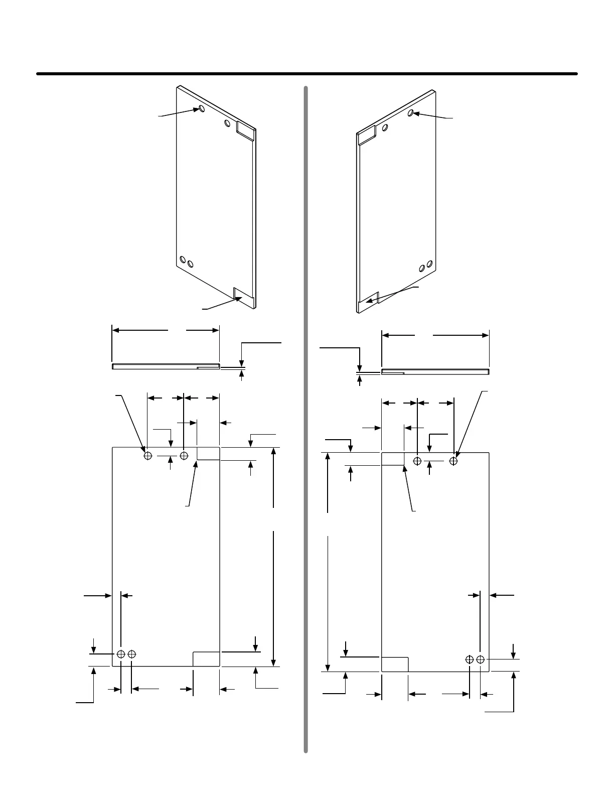
Figure 36
Right Hand Hinged Door
15" (38.1 cm) wide appliance
Figure 37
Right Hand Hinged Door
15" (38.1 cm) wide appliance
Clearance for
screw head,
4 places
Clearance
for hinge
2 places
Figure 34
Left Hand Hinged Door
15" (38.1 cm) wide appliance
Figure 35
Left Hand Hinged Door
15" (38.1 cm) Wide Appliance
4
7
8"
(12.4 cm)
1
3
16"
(3 cm)
3
1
8"
(7.9 cm)
1
1
2"
(3.8 cm)
typical
Hinge side of door
Top of door
14
3
4"
(37.5 cm)
1
4" (6 mm)
Deep
5"
(12.7 cm)
1" (25.4 mm) diameter
counter bore
1
4" (6 mm)
deep 4 places.
1
3
4"
(4.4 cm)
2"
(5.1 cm)
3
11
16"
(9.4 cm)
1
4" (6 mm)
radius is
permissible
1
11
16"
(4.3 cm)
4
7
8"
(12.4 cm)
1
3
16"
(3 cm)
3
1
8"
(7.9 cm)
1
1
2"
(3.8 cm)
typical
1
11
16"
(4.3 cm)
Hinge side of door
14
3
4"
(37.5 cm)
1
4" (6 mm)
Deep
5"
(12.7 cm)
1" (25.4 mm) diameter
counter bore
1
4" (6 mm)
deep 4 places.
1
3
4"
(4.4 cm)
2"
(5.1 cm)
3
11
16"
(9.4 cm)
This side
facing interior
This side
facing interior
1
4" (6 mm)
radius is
permissible
1
5
32"
(2.9 cm)
1
5
32"
(2.9 cm)
30
11
32"
(77.1 cm)
30
11
32"
(77.1 cm)
OVERLAY DOOR PANEL INSTALLATION - ML15C & MP15C MODELS

Table of Contents

Related product manuals