EasyManua.ls Logo

Matrix Amplification XT2004EQ - Page 11

Matrix Amplification XT2004EQ
16 pages
Print Icon
To Next Page IconTo Next Page
To Next Page IconTo Next Page
To Previous Page IconTo Previous Page
To Previous Page IconTo Previous Page
Loading...
XT SERIES USER MANUAL 10
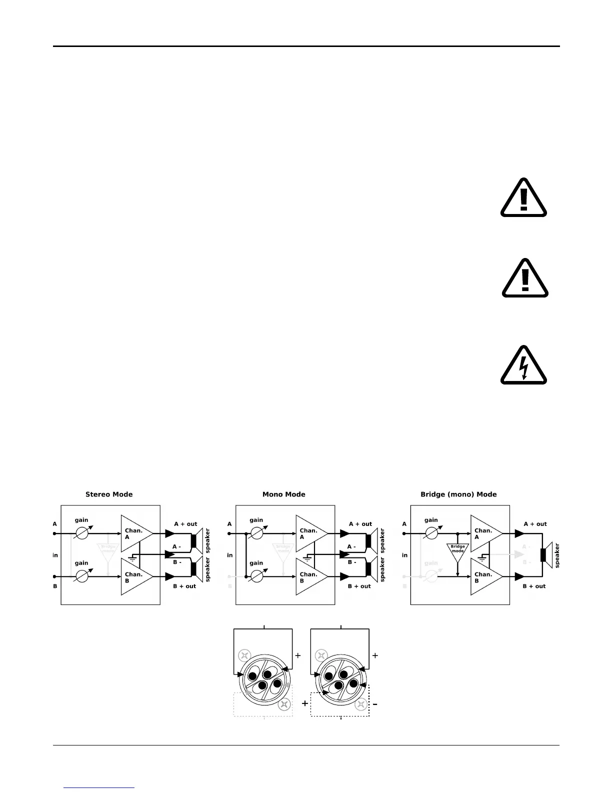
4.2 Using Bridge Mode:
Only use this mode of amplifier operation where the power available from one amplifier
output channel alone, is not sufficient for the connected speaker system.
This mode works by using two amplifier output stages together in series, using specialised
internal amplifier circuitry. The following points about this mode of operation should be
considered with care.
Firstly, the Speakon connectors cannot be used in a standard configuration
to drive your speakers. See the next chapter on “making your own cables”
for details. If an attempt to use standard wiring in this mode is made, poor
performance will result and the benefit of this mode of operation will not be
obtained.
Secondly, in bridge mode the voltage available increases significantly.
Be sure that any speaker system connected can handle the voltages
involved. Any components used in the speaker system should be rated to at
least 500v, otherwise a failure may occur. Note that the minimum
impedance doubles for bridge mode, from 4 ohms to 8 ohms; this must be
observed to avoid the possibility of damage to the amplifier and poor
performance.
Thirdly, Custom wiring must be applied to use bridge mode.
Using standard connections or cables will result in poor performance and will
not deliver the benefits of bridged mode.
It should be noted that the negative feed for the speaker system is no
longer connected to ground; it is connected to the LIVE end of the second
amplifier channel. None of the speaker output terminals should be
connected to ground, otherwise damage to the speaker system and the
amplifier may occur.
Note: The Diagrams Shown here for channels A and B, also apply for channels C and D.
MATRIX AMPLIFICATION REV.1.15
OUTPUT B OUTPUT A
1-
1+
2+
2-
1-
1+
2+
2-
NO CONNECTION !
CHANNEL B
CHANNEL B
CHANNEL A
- -
(1)
(2)
(1)
(2)