EasyManua.ls Logo

Matrix Amplification XT2004EQ - Basic Schematics

Matrix Amplification XT2004EQ
16 pages
Print Icon
To Next Page IconTo Next Page
To Next Page IconTo Next Page
To Previous Page IconTo Previous Page
To Previous Page IconTo Previous Page
Loading...
XT SERIES USER MANUAL 4
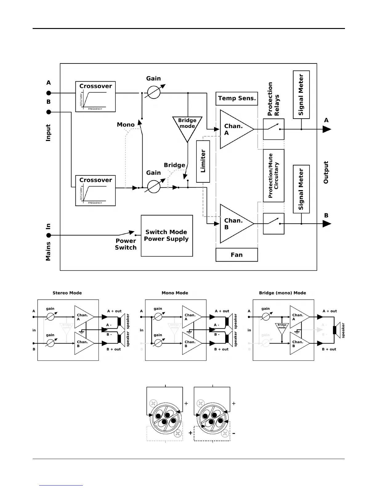
2.2 Basic Schematics.
Note: The Diagrams shown here for channels A and B, also apply for channels C and D.
Modes:
Output Connections:
MATRIX AMPLIFICATION REV.1.15
OUTPUT B OUTPUT A
1-
1+
2+
2-
1-
1+
2+
2-
NO CONNECTION !
CHANNEL B
CHANNEL B
CHANNEL A
- -
(1)
(2)
(1)
(2)