EasyManua.ls Logo

Mazda 3 2015 - Page 236

Mazda 3 2015
592 pages
Print Icon
To Next Page IconTo Next Page
To Next Page IconTo Next Page
To Previous Page IconTo Previous Page
To Previous Page IconTo Previous Page
Loading...
4
110
When Driving
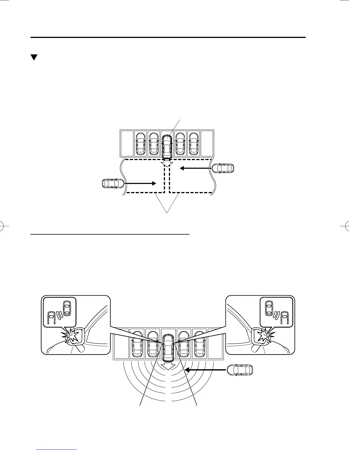
Blind Spot Monitoring (BSM) System
Rear Cross Traffi c Alert (RCTA)
When reversing the vehicle from a parking garage, vehicles approaching both sides of the
vehicle are detected to alert the driver of a possible collision by fl ashing the Blind Spot
Monitoring (BSM) warning light and activating the Blind Spot Monitoring (BSM) warning
beep sound.
Detection areas
Your vehicle
Rear Cross Traffi c Alert (RCTA) system operation
1. The Rear Cross Traffi c Alert (RCTA) system operates when the shift lever (manual
transaxle) or the selector lever (automatic transaxle) is shifted to the R position.
2. If a vehicle approaches which may hit you, the Blind Spot Monitoring (BSM) system
warning light fl ashes and the Blind Spot Monitoring system (BSM) warning beep sounds
at the same time.
Mazda38DX6-EA-14FEdition3.indb110Mazda38DX6-EA-14FEdition3.indb110 2014/12/0214:14:572014/12/0214:14:57

Table of Contents

Related product manuals