EasyManua.ls Logo

Mazda MX-30 2022 - Page 253

Mazda MX-30 2022
546 pages
Print Icon
To Next Page IconTo Next Page
To Next Page IconTo Next Page
To Previous Page IconTo Previous Page
To Previous Page IconTo Previous Page
Loading...
When your vehicle is driven at less
than about 10 km/h (6 mph).
The selector lever is in the D
position.
When a vehicle approaches from the
front side of your vehicle at a vehicle
speed of about 5 km/h (3 mph) or
faster.
FCTA operation
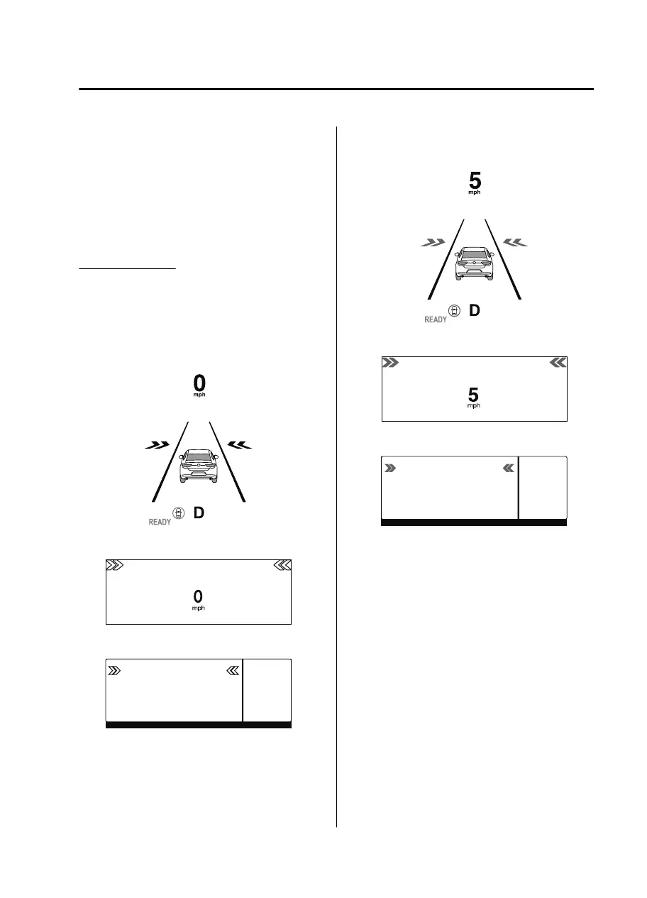
When your vehicle is stopped
When a vehicle is approaching, the
system notifies the driver that a vehicle
is approaching on the following display
(white arrow).
Multi-information display
Active driving display (vehicles with
active driving display)
360°view monitor (vehicles with
360°view monitor)
When your vehicle is being driven
If there is a possibility of a collision
with an approaching vehicle, a warning
indication is displayed on the following
display (amber arrow) and the warning
sound is activated at the same time.
Multi-information display
Active driving display (vehicles with
active driving display)
360°view monitor (vehicles with
360°view monitor)
NOTE
The system may operate under the
following conditions even if a vehicle
is not approaching.
An object that reflects the radio
waves of the radar such as a
parked vehicle, guardrail, or wall is
directly next to your vehicle.
Vehicles are stopped in the area
around your vehicle such as during
heavy trac.
A vehicle approaching from the
front or side of your vehicle slows
down.
A vehicle approaching from the
front or left side of your vehicle
makes a right or left turn directly in
front of your vehicle.
When Driving
i-ACTIVSENSE
4-105
MX30_8JD4-EA21G_Edition4_new 2021-8-5 15:25:29

Table of Contents

Related product manuals