EasyManua.ls Logo

Mazda mx-5 2003 - Page 203

Mazda mx-5 2003
256 pages
Print Icon
To Next Page IconTo Next Page
To Next Page IconTo Next Page
To Previous Page IconTo Previous Page
To Previous Page IconTo Previous Page
Loading...
8-25
Maintenance and Care
Owner Maintenance
Form No. 8R09-EA-02G
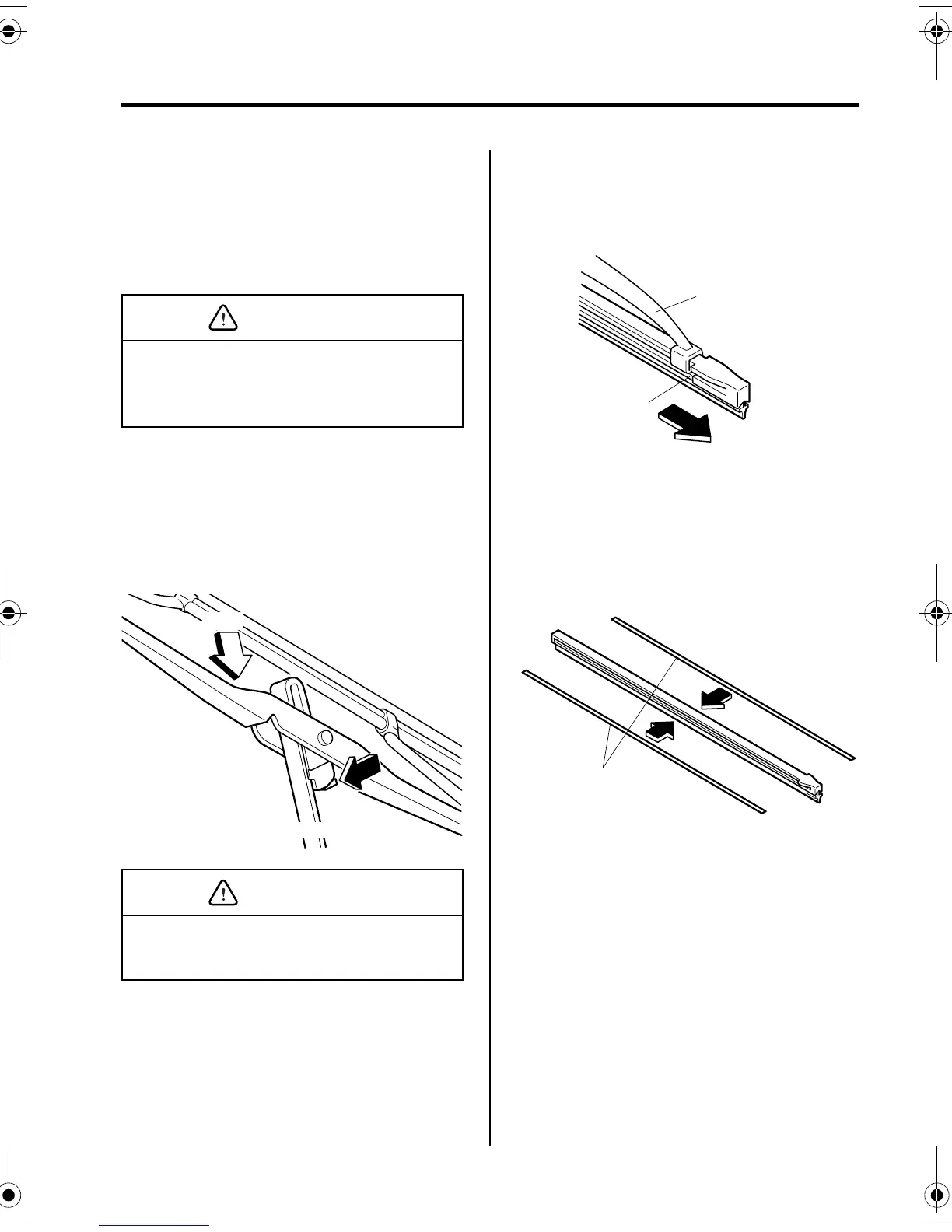
Replacing Windshield Wiper
Blades
When the wipers no longer clean well, the
blades are probably worn or cracked.
Replace them.
1. Raise the wiper arm and turn the blade
assembly to expose the plastic locking
clip.
Compress the clip and slide the
assembly downward; then lift it off the
arm.
2. Hold the end of the rubber and pull
until the tabs are free of the metal
support.
3. Remove the metal stiffeners from the
blade rubber and install them in new
blades.
To prevent damage to the wiper arms
and other components, dont move the
wipers by hand.
To prevent damage to the windshield,
dont let the wiper arm fall on it.
CAUTION
Push
Plastic locking clip
CAUTION
Stiffeners
J07R_8R09_EA_02G.book Page 25 Monday, July 1, 2002 11:30 AM

Table of Contents

Related product manuals