EasyManua.ls Logo

mcmurdo E3 - HRU Replacement Procedure; Replacing the HRU

mcmurdo E3
24 pages
Print Icon
To Next Page IconTo Next Page
To Next Page IconTo Next Page
To Previous Page IconTo Previous Page
To Previous Page IconTo Previous Page
Loading...
17
9.2 HRU replacement
If you have an E3 in an enclosure which is marked as category 1 then it contains a
Hydrostatic Release Unit (HRU). This has a 2 year replacement interval. The HRU
expiry date should be checked regularly. It is marked on the HRU itself and also on
the enclosure side label.
When the HRU expires you can obtain a replacement at a local chandler, or direct
from McMurdo at the address shown on the warranty page. McMurdo will supply an
HRU kit (Part No. 82-210B) complete with breakable plastic rod, date labels and
instruction sheet. At a chandler you should ask for a Pains Wessex “Breakthrough
HRU with an EPIRB kit”. The HRU replacement procedure is as follows…
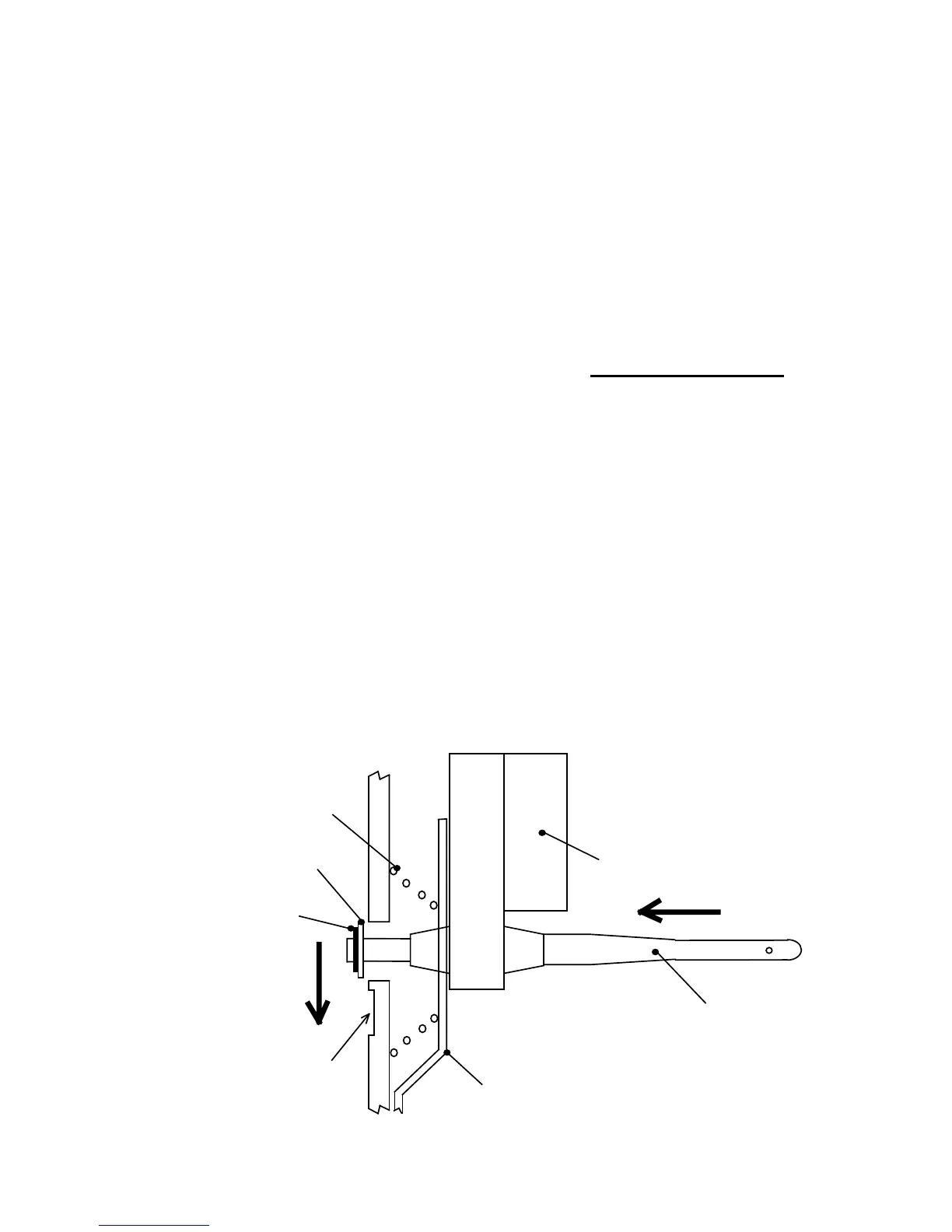
1) On the enclosure, remove the R-clip and pull the cover slowly off.
2) Remove the E3 and stow it in a dry place. It will activate if wet.
3) Hold back the metal lever arm to take up the force of the spring.
4) Push the HRU back then upwards, out of slot in the lever arm.
5) When the rear clip disengages slowly release the lever arm.
6) The HRU with its breakable rod can now be lifted free and replaced.
7) Using pliers, remove the rear E-clip and slide off the old HRU.
8) Fit the new HRU over the new rod, with its label facing outward.
9) Refit the washer and the rear E-clip. Ensure rod moves freely.
10) Mark the HRU with an expiry date 2 years into the future.
11) Slide the HRU into the slot in the lever arm and push lever arm back.
12) Engage rear washer into backplate by pushing back and sliding down.
13) Look under the spring and confirm that the washer is fully engaged.
14) Slide E3 into D-shaped foot on lever arm. Switches outermost.
15) Refit cover by engaging hole over rod and then snapping into place.
16) Refit R-clip through top of rod.
17) On side of cover, remove old HRU expiry date and mark new date.
1
2
Breakable rod
HRU
Lever arm
Spring
Engage
washer here
Rear E-clip
Fitting HRU
Washer

Related product manuals