EasyManua.ls Logo

McQuay M4MC - 4.7 SLM3 Handset Operation

McQuay M4MC
84 pages
Print Icon
To Next Page IconTo Next Page
To Next Page IconTo Next Page
To Previous Page IconTo Previous Page
To Previous Page IconTo Previous Page
Loading...
MCQUAY Service Guide Book Handset Operating Guide
14
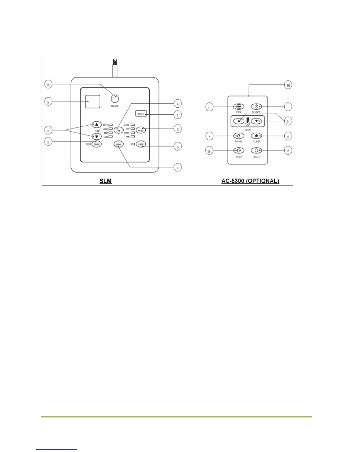
4.7 SLM3
Operation Guide
1. “
ON/OFF” Switch
2. Temperature Setting
Setting range are between 16°C to 30°C
(60°F to 80°F).
3. Operation Modes
Press the “mode” button for select the
type of operating mode.
-Cooling Only: COOL, DRY, FAN
-Heat Pump: AUTO, COOL, DRY,
HEAT, FAN
AUTO mode is represented by both
COOL and HEAT LED light on.
4. Fan Speed Selection
Press the button until the desired fan
speed is achieved.
5. Timer
Press the set button to select the switch
timer of the air conditioner unit (the setting
range is between 1 to 15 hours).
6. “SLEEP” Mode
This function can only be activated under
“cool” or heating mode operation. When it
is activated under “cool” mode operation,
the set temperature will increase 0.5°C
after 30 minutes, 1°C after 1 hour and 2°C
after 2 hours. If it is activated under
“HEAT” mode operation, the set
temperature will be decreased 0.5°C after
30 minutes, 1°C after 1 hour and 2°C after
2 hours.
7. Air Swing
Press button to activate the automatic air
swing function.
8. Sensor
Infra red sensor to receive signals from
wireless controller.
9. LED Display
To display the set temperature (in °C) and
timer delay setting (in hours).
10. Transmission Source

Other manuals for McQuay M4MC

Related product manuals