EasyManua.ls Logo

McQuay MDB075B - Outdoor Unit Location Criteria

McQuay MDB075B
163 pages
Print Icon
To Next Page IconTo Next Page
To Next Page IconTo Next Page
To Previous Page IconTo Previous Page
To Previous Page IconTo Previous Page
Loading...
90
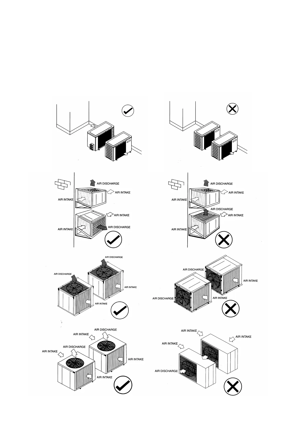
Installation (Outdoor)
Location For Installation Of The Condensing Units
As condensing temperature rises, evaporating temperature rises and cooling capacity drops. In order to achieve
maximum cooling capacity, the location selected should fulfill the following requirements:-
a) Install the condensing (outdoor) unit in a way such that hot air distributed by the outdoor condensing unit cannot be
drawn in again (as in the case of short circuit of hot discharge air). Allow sufficient space for maintenance around the
unit.

Related product manuals