EasyManua.ls Logo

McQuay MQS-174060-CFC216A

McQuay MQS-174060-CFC216A
40 pages
To Next Page IconTo Next Page
To Next Page IconTo Next Page
To Previous Page IconTo Previous Page
To Previous Page IconTo Previous Page
Loading...
DC Inverter U-match Series Floor Ceiling Type Unit
24
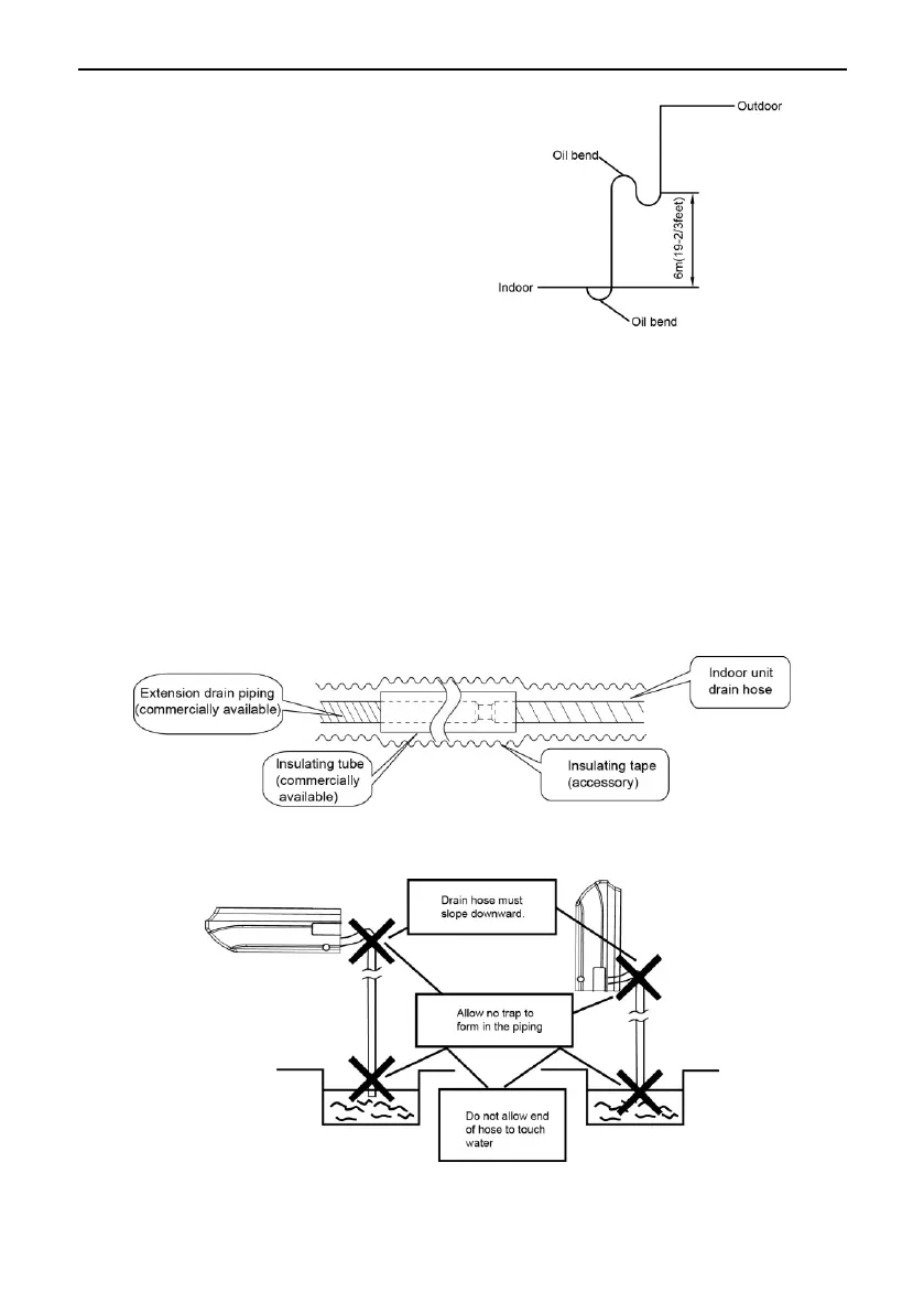
When the height difference between
the indoor unit and outdoor unit is larger
than 10 meters, an oil bend should be
employed for every 6 meters.
Fig. 4.18
5.5 Installation of the Drain Pipe
5.5.1 Precautions When Doing the Piping Work
(1). Keep piping as short as possible and slope it downwards at a gradient of at
least 1/100 so that air may not remain trapped inside the pipe.
(2). Keep pipe size equal to or greater than that of the connecting pipe.
(3). Install the drain piping as shown and take measures against condensation.
Improperly rigged piping could lead to leaks and eventually wet furniture and
belongings.
Fig. 4.19
(4). Connect the drain hose.(Fig. 4.20)
Fig. 4.20

Related product manuals