EasyManua.ls Logo

MDV RG57A8/BGEF - Ako Používať Tlačidlá; Nastavenie Smeru Prúdenia Vzduchu; Odvlhčovacia Prevádzka; Prevádzka Chladenie;Vykurovanie;Ventilátor

Default Icon
Print Icon
To Next Page IconTo Next Page
To Next Page IconTo Next Page
To Previous Page IconTo Previous Page
To Previous Page IconTo Previous Page
Loading...
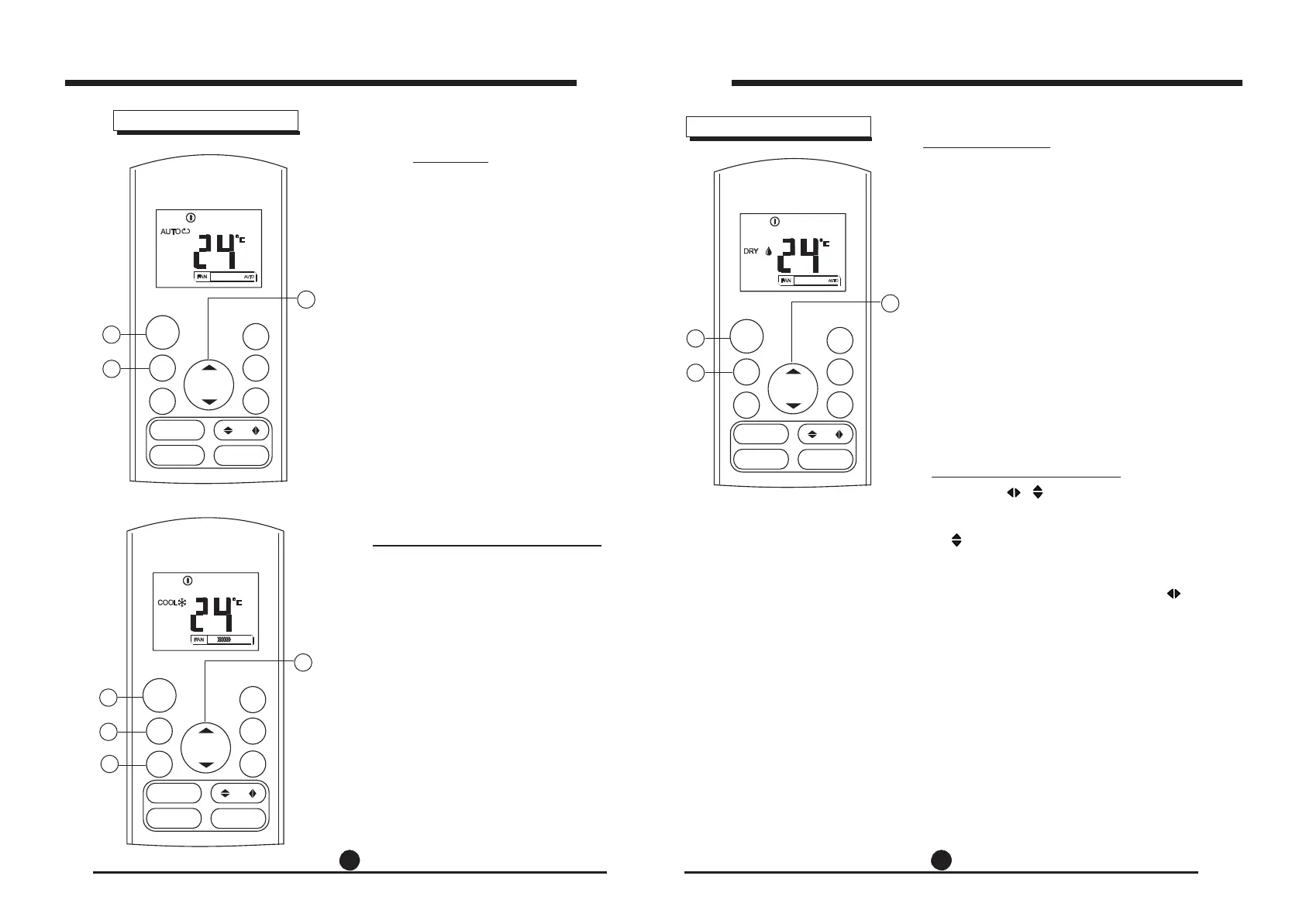
Režim AUTO
Skontrolujte, či je jednotka zapojená do elektrickej siete a
či je k dispozícii napájanie. Indikátor OPERATION
(Prevádzka) na paneli displeja vnútornej jednotky začne
blikať.
1. Stlačte tlačidlo MODE pre zvolenie Auto.
2. Stlačte UP/DOWN tlačidlo pre nastavenie želanej
teploty. Teplota bude nastavená v rozpätí 17°C ~
30°C v 1°C prírastkoch.
3. Stlačte ON/OFF tlačidlo pre spustenie klimatizácie.
POZNÁMKA
Odv lh čo va cia pr e dzk a
Skontrolujte, či je jednotka zapojená do elektrickej siete a či je
k dispozícii napájanie. Indikátor OPERATION (Prevádzka) na
paneli displeja vnútornej jednotky začne blikať.
1. Stlačte MODE tlačidlo pre zvolenie režimu DRY.
2. Stlačte UP/DOWN tlačidlo pre nastavenie
želanej teploty. Teplota bude nastave v
rozpätí 17°C ~ 30°C v 1°C prírastkoch.
3. Stlačte ON/OFF tlačidlo pre spustenie
klimatizácie.
POZNÁMKA
V režime odvlhčovania nemôžete prepnúť rýchlosť ventilátora.
Táto je kontrolovaná automaticky.
1. V automatickom Auto režime dokáže klimatizácia logicky
zvoliť režim chladenia, ventilátora a kúrenia snímaním
rozdielu medzi skutočnou teplotou okolia a nastavenou
teplotou na diaľkovom ovládači.
2. V automatickom režime Auto nemôžete prepnúť rýchlosť
ventilátora.
3. Ak vám automatický režim Auto nevyhovuje,
požadovaný režim je možné zvoliť manuálne.
Pr evá dzk a C hla de ni e/Vy kur ov ani e/V en tilá tor
Skontrolujte, či je jednotka zapojená do elektrickej siete a
či je k dispozícii napájanie.
1. Stlačte MODE tlačidlo pre zvolenie režimu COOL,
HEAT (len pre modely s funkciou chladenia a
vykurovanie) alebo FAN režim.
2. Stlačte UP/DOWN E tlačidlo pre nastavenie želanej
teploty. Teplota bude nastavená v rozpä 17°C ~
30°C v 1°C prírastkoch.
3. Stlačte FAN tlačidl pre zvolenie chlosti ventilátora v
štyroch krokoch- Auto, Low, Med alebo High.
4. Stlačte ON/OFF tlačidlo pre spustenie
klimatizácie.
POZNÁMKA
V režime FAN sa nastavená teplota nezobrazuje na
diaľkovom ovládači a nemôžete takisto regulovať teplotu v
miestnosti. V tomto prípade je možné vykonať len kroky
1,3 a 4.
Nastavenie smeru prúdenia vzduchu
Použite SWING & tlačidlo pre nastavenie
želaného prúdenia vzduchu.
1. Smer hore/dolu je možné upraviť pomocou
tlačidla na diaľkovom ovládači. Zakaždým,
keď stlačíte tlačidlo, žalúzia sa posunie o uhol 6
stupňov. Ak ho stlačíte na viac ako 2 sekundy, žalúzia
sa bude pohybovať hore a doleautomaticky.
2. Smer doľava / doprava je možné nastaviť
tlačidlom na diaľkovom ovládači. Zakaždým, keď
stlačíte tlačidlo, žalúzia sa posunie o uhol 6 stupňov. Ak
stlačíte na viac ako 2 sekundy, žalúzia sa automaticky
pohne doľava a doprava.
Poznámka: Keď sa žalúzia hojdá alebo sa pohybuje do
pozície, ktorá by ovplyvnila efekt chladenia alebo
vykurovania klimatizácie, automaticky sa zmení aj smer
pohybu/otvárania.
8 7
Ako používať tlačidlá
Ako používať tlačidlá
MODE
FAN
TEMP
SLEEP FRESH
ON/OFF
ECO
TIMER
ON
TIMER
OFF
4
1
3
2
MODE
FAN
TEMP
SLEEP FRESH
ON/OFF
ECO
TIMER
ON
TIMER
OFF
3
1
2
LED
F
OLLOW
ME
TURBO
C
S
L
E
E
L
A
F
N
LED
F
OLLOW
ME
TURBO
C
S
L
E
E
L
A
F
N
MODE
FAN
TEMP
SLEEP FRESH
ON/OFF
ECO
TIMER
ON
TIMER
OFF
3
1
2
LED
F
OLLOW
ME
TURBO
C
S
L
E
E
L
A
F
N

Related product manuals