EasyManua.ls Logo

Mercafan MT01443 - Montaje

Mercafan MT01443
Print Icon
To Next Page IconTo Next Page
To Next Page IconTo Next Page
To Previous Page IconTo Previous Page
To Previous Page IconTo Previous Page
Loading...
3
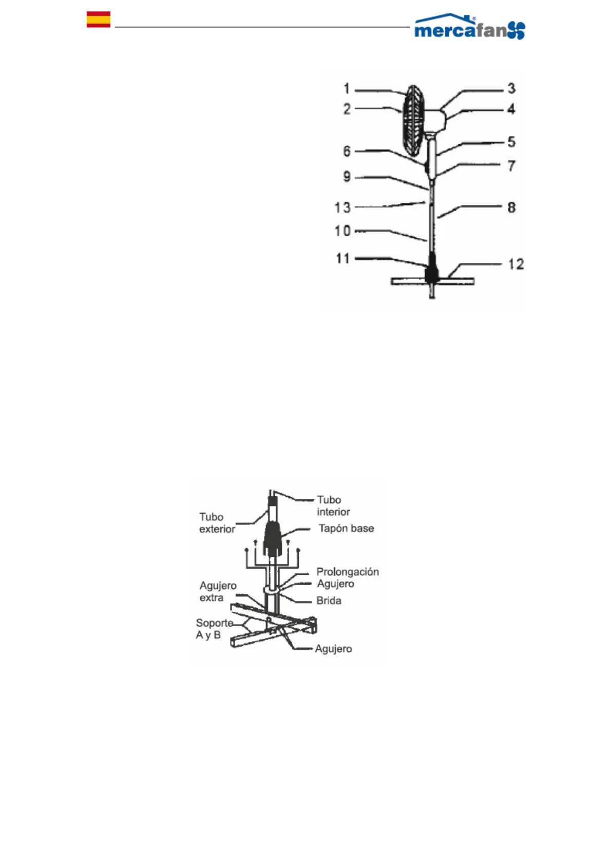
3- Despiece
1. Rejillas
2. Aspas
3. Botón oscilación
4. Motor
5. Caja mandos
6. Botonera
7. Tornillos
8. Tuerca
9. Cuerda
10. Tubo interior
11. Tubo exterior
12. Tapón base
13. Soportes base en cruz
14. Ajuste altura
4-Montaje
La única herramienta necesaria para el montaje es un destornillador Phillips.
1. Montaje base:
En primer lugar, afloje y retire los cuatro tornillos de los soportes, luego
colóquelos en cruz, primero el A y luego el B. Alinear los cuatro agujeros de los
soportes a la base, al mismo tiempo, alinear el soporte A con la barra soporte,
apretar los cuatro tornillos e inserte la tapa base hacia abajo, sobre los
soportes.
2. Montaje de la cada de mandos:
“Precaución”, nunca quite el tope del tubo interior, ni afloje los tornillos.
1) Afloje el tornillo de la caja de mandos girándolo hacia la izquierda.
2) Coloque el agujero en la parte inferior de la caja de mandos sobre el tubo
interior.
3) Apriete los tornillos de la caja de mandos.