EasyManua.ls Logo

Meyer PV Series - Page 38

Meyer PV Series
92 pages
Print Icon
To Next Page IconTo Next Page
To Next Page IconTo Next Page
To Previous Page IconTo Previous Page
To Previous Page IconTo Previous Page
Loading...
INSTALLATION AND INSTRUCTIONAL MANUAL
xxxxx-xxx-xx month/day/year
PV SERIES
TM
MATERIAL:
SCALE
TITLE
DRAWING SIZE DRAWING No:
LINDENWOOD ILLINOIS
WHERE USED
CADD FILENAME:
REF. DRAWING
DR BY
APPV BY
DATE
APPVBYDATE
PIF#
REV
REVISION
NOTED)
(EXCEPT AS
C
DO NOT SCALE DRAWING
DATE
***********************
ProE Drawing
This drawing was
created in ProE.
The orginial drawing
should only be
edited in ProE.
***********************
FOR TOLERANCES
SEE FORM #410-7 UNLESS
OTHERWISE NOTED.
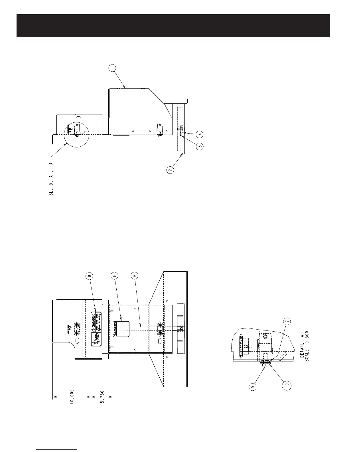
10.000
5.750
P, SPINNER PV
INTERMEDIATE 14G S2
SEE TABLE
PV356
0.187
JKG 3/17/2010
B0000229622
JKG 3/17/2010
TABD
PART WEIGHT
00002-296-33
ITEM PART NUMBER DESCRIPTION QTY
1 00122-950-XX WELD, SPINNER FRAME 1
2 04622-033-00 DISC, POLY SPINNER 1
3 04003-003-XX BOLT, 3/8-16 X 2 1/2 1
4 04003-807-XX LOCKNUT, 3/8-16 TOP LOCK 1
5 04003-003-XX BOLT, 3/8-16 X 3/4 4
6 00119-086-00 Y, SPINNER SHAFT 1
7 04004-004-XX LOCKWASHER, 3/8 INT/EXT TOOTH8
8 04049-045-00 DECAL, CAUTION 1
9 04049-044-00 DECAL, DANGER 1
S:\00122\
00002-296-33
6
8
9
SEE DETAIL A
1
2
3
4
DETAIL A
SCALE 0.500
5
7
10
BASE LINE PV SERIES
00108-760-01-REV-B
Page 38
OCTOBER, 2013

Related product manuals