EasyManua.ls Logo

MFJ MFJ-993BRT - Installation Guide; Installation Safety Warnings; Basic Connection Diagram

MFJ MFJ-993BRT
16 pages
Print Icon
To Next Page IconTo Next Page
To Next Page IconTo Next Page
To Previous Page IconTo Previous Page
To Previous Page IconTo Previous Page
Loading...
MFJ-993BRT 300 Watt IntelliTuner
TM
Automatic Remote Antenna Tuner Instruction Manual
© 2011 MFJ Enterprises, Inc
MFJ-993BRT Version 1A
3
Installation
WARNING
Never operate the tuner with its cover removed. Contact with the components inside the tuner while
transmitting will result in painful RF burns.
Locate the tuner so that the antenna terminals are not accessible during operation. The single wire
connection will have high voltage while transmitting.
Do not mount in a position that will put it under water at any time.
Do not mount it in a place that will allow sprinklers or water hoses to spray the weather seals or
connectors
Always tune with low power (10-20 watts recommended). Apply maximum power only after tuning up.
Never exceed tuner specifications.
1. Mount the tuner in a convenient place relative to the antenna. Mount it in such a way that it
will not come in contact with people, pets, or shrubbery. The Wire terminal will have high RF
voltages on it in use. These voltages can cause serious RF burns if the terminals are touched
when transmitting.
2. The tuner can be mounted vertical or with the plastic cover up. Do not mount with the cover
face down. Water may accumulate and seep into the tuner.
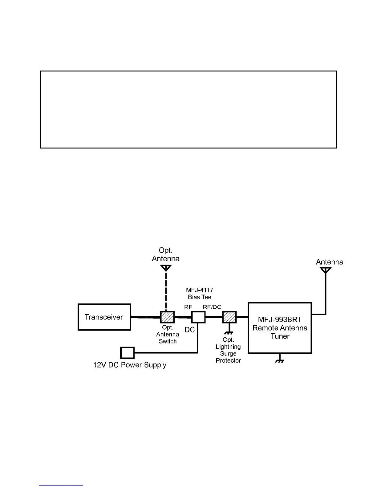
3. Connect the tuner to the transceiver, the amplifier, the MFJ-4117 Bias Tee (note the
orientation of the Bias TEE) and the antenna with 50-ohm coaxial cables capable of handling
the RF power levels expected. See Figure 1 .
Figure 1: Basic Connections
4. Connect the antenna to the tuner. Random wire or single wire line antennas should be
connected to the WIRE binding post on the back of the tuner. Do not connect WIRE and coax
ANTENNA at same time! Both are connected in parallel. Run the antenna connected to the
wire terminal away from the tuner and not routed near the front cover to reduce the chance of
RF getting into the tuner and causing it to go into bypass mode.

Related product manuals