EasyManua.ls Logo

Midea Elite Series - Refrigeration Cycle Diagram

Midea Elite Series
32 pages
Print Icon
To Next Page IconTo Next Page
To Next Page IconTo Next Page
To Previous Page IconTo Previous Page
To Previous Page IconTo Previous Page
Loading...
8
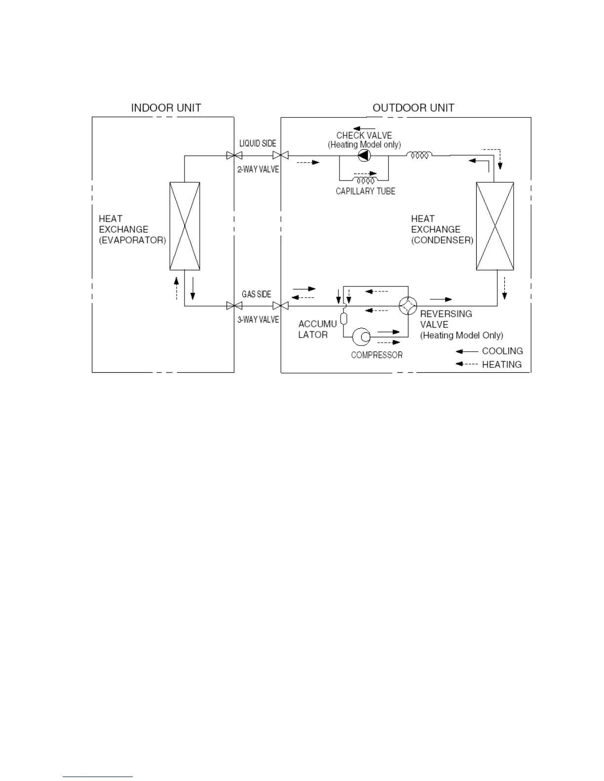
4.Refrigeration cycle diagram

Related product manuals