EasyManua.ls Logo

Midea MDRB470MGF Series - Аяқтарды Реттеу

Midea MDRB470MGF Series
102 pages
Print Icon
To Next Page IconTo Next Page
To Next Page IconTo Next Page
To Previous Page IconTo Previous Page
To Previous Page IconTo Previous Page
Loading...
9
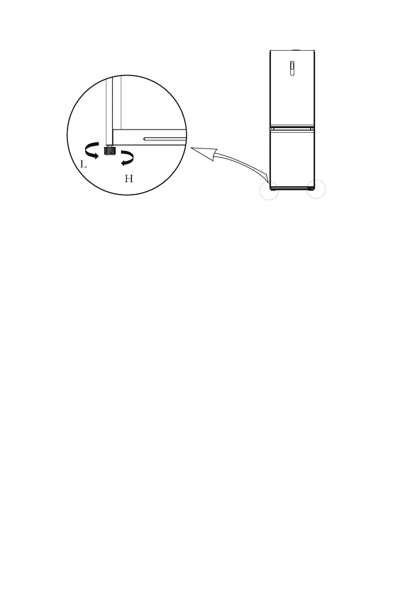
2.2 Аяқтарды реттеу
Аяқтарды реттеудің сызба нұсқауы
(Жоғарыдағы сурет тек үлгі ретінде берілген. Қолдағы өнімде немесе сатушының мәлімдемесінде
нақты конфигурация басқаша болуы мүмкін.)
Реттеу процедуралары:
a. Тоңазытқышты көтеру үшін аяқты сағат тілімен бұраңыз;
b. Тоңазытқышты түсіру үшін аяқты сағат тіліне қарсы бұраңыз;
c. Жоғарыда аталған процедураларға сәйкес, оң және сол жақ аяқтарды тура көлденең
деңгейге
дейін реттеңіз.

Table of Contents

Related product manuals