EasyManua.ls Logo

Midea MGB-D65W/RN1

Midea MGB-D65W/RN1
174 pages
To Next Page IconTo Next Page
To Next Page IconTo Next Page
To Previous Page IconTo Previous Page
To Previous Page IconTo Previous Page
Loading...
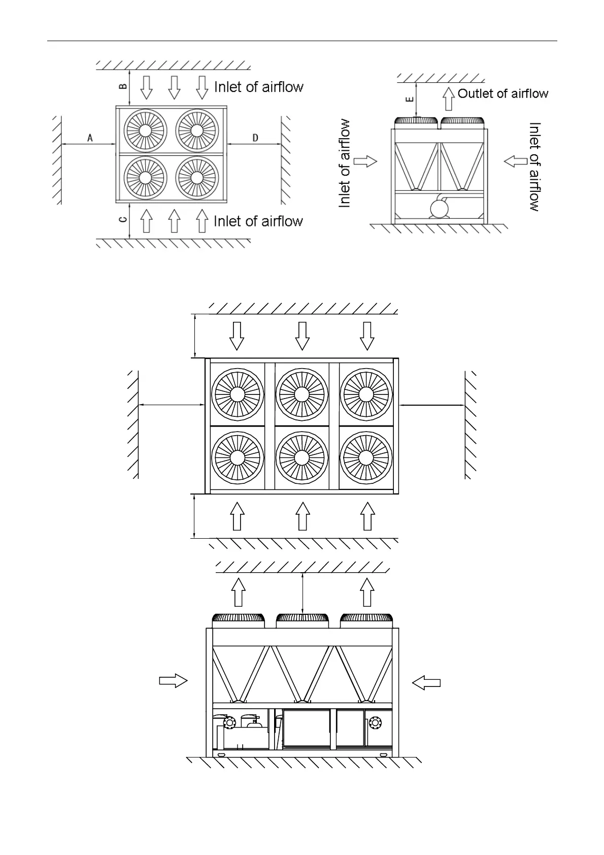
Air-cooled modular chiller unit 50Hz MCAC-ATSM-2011-12
112
130kw module
185kw module
Input of airflow
Input of airflow
A
B
D
C
Input of airflo
w
Input of airflow
E

Related product manuals