EasyManua.ls Logo

Midea MGB-D65W/RN1 - Page 119

Midea MGB-D65W/RN1
174 pages
Print Icon
To Next Page IconTo Next Page
To Next Page IconTo Next Page
To Previous Page IconTo Previous Page
To Previous Page IconTo Previous Page
Loading...
MCAC-ATSM-2011-12 Air-cooled modular chiller unit 50Hz
121
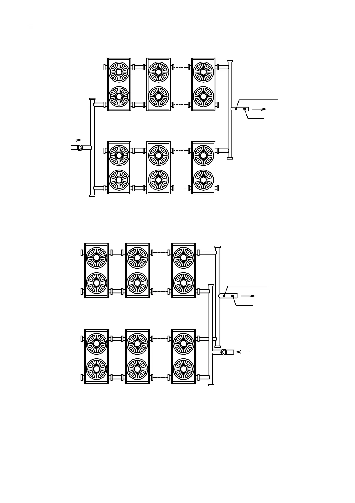
4) Installation mode IV
n : the module quantity, max16
No.n module
No.(n-1) address
No.1 moduleNo.(n-1) module
No.(n-2) address No.0 address
No.(n-2) module
No.(n-3) address
No.2 moduleNo.(n-3) module
No.(n-4) address No.1 address
Drill dead hole at the
position, and move
the total effluent
temperature sensor
at No.0 address to
the position
Water flow switch
Pump
Installation mode A: less than 16 modules
n : the module quantity, max12
No.n module
No.(n-1) address
No.1 moduleNo.(n-2) module
No.(n-3) address No.0 address
No.(n-1) module
No.(n-2) address
No.2 moduleNo.(n-3) module
No.(n-4) address No.1 address
Drill dead hole at
the position, and
move the total
water outlet
temperature
sensor at No.0
address to the
position
Water flow switch
Pump
Installation mode A: less than 12 modules
5) Installation mode V
n : the module quantity, max8
m : the module quantity, max8

Related product manuals