EasyManua.ls Logo

Midea MGB-F60W/RN1 - Page 119

Midea MGB-F60W/RN1
174 pages
To Next Page IconTo Next Page
To Next Page IconTo Next Page
To Previous Page IconTo Previous Page
To Previous Page IconTo Previous Page
Loading...
MCAC-ATSM-2011-12 Air-cooled modular chiller unit 50Hz
121
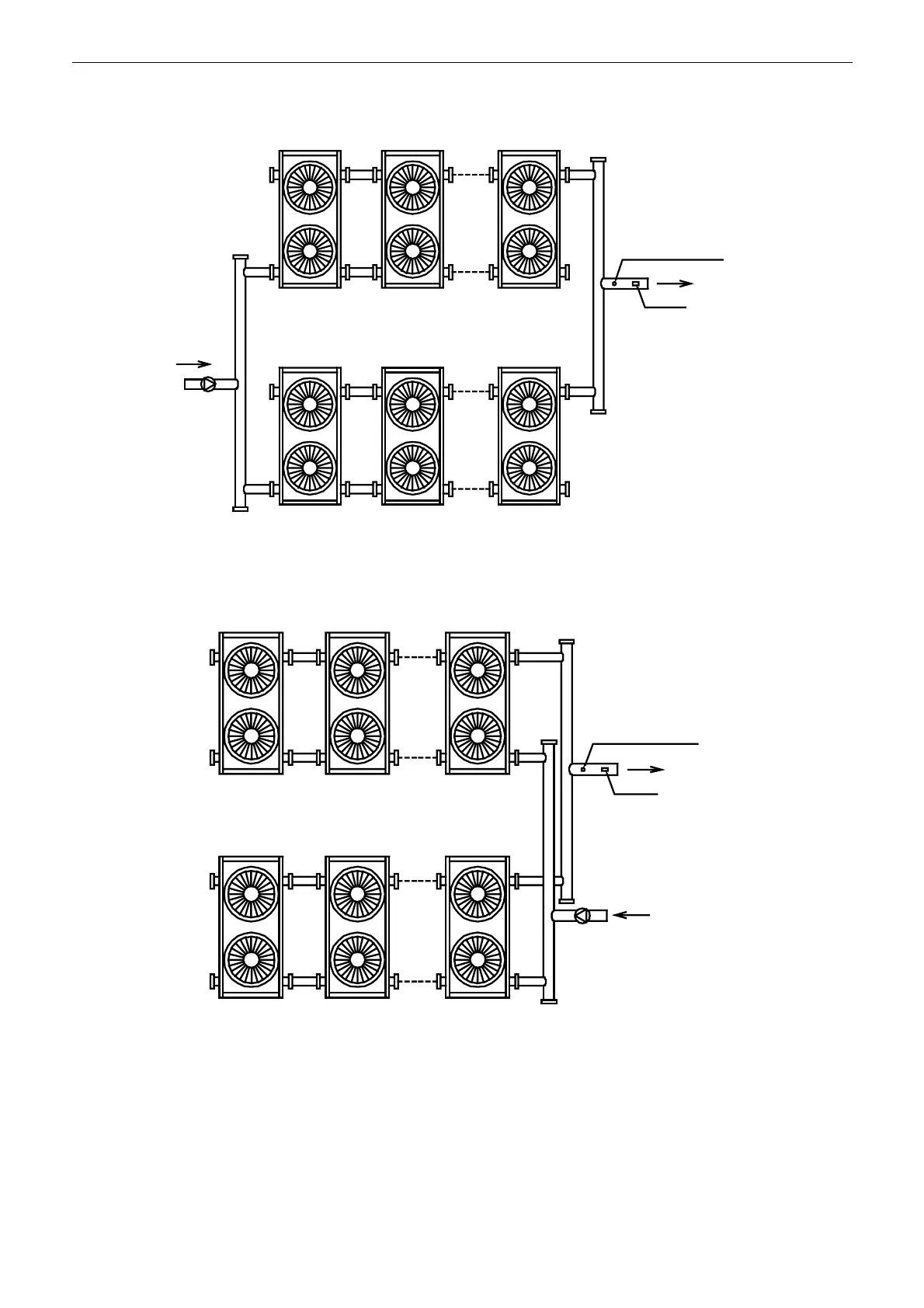
4) Installation mode IV
n : the module quantity, max16
No.n module
No.(n-1) address
No.1 moduleNo.(n-1) module
No.(n-2) address No.0 address
No.(n-2) module
No.(n-3) address
No.2 moduleNo.(n-3) module
No.(n-4) address No.1 address
Drill dead hole at the
position, and move
the total effluent
temperature sensor
at No.0 address to
the position
Water flow switch
Pump
Installation mode A: less than 16 modules
n : the module quantity, max12
No.n module
No.(n-1) address
No.1 moduleNo.(n-2) module
No.(n-3) address No.0 address
No.(n-1) module
No.(n-2) address
No.2 moduleNo.(n-3) module
No.(n-4) address No.1 address
Drill dead hole at
the position, and
move the total
water outlet
temperature
sensor at No.0
address to the
position
Water flow switch
Pump
Installation mode A: less than 12 modules
5) Installation mode V
n : the module quantity, max8
m : the module quantity, max8

Related product manuals