EasyManua.ls Logo

Midea MGB Series - Page 164

Midea MGB Series
174 pages
Print Icon
To Next Page IconTo Next Page
To Next Page IconTo Next Page
To Previous Page IconTo Previous Page
To Previous Page IconTo Previous Page
Loading...
Air-cooled modular chiller unit 50Hz MCAC-ATSM-2011-12
166
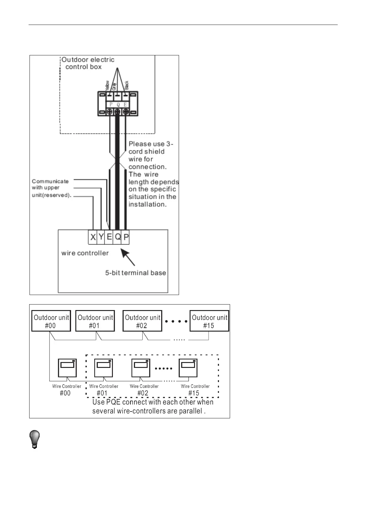
2. Installation procedure:
The wiring procedure and principles are shown in the figure:
Note: Please connect the attached shorted wires to the corresponding communication port COM(I) or
COM(O) in the main control board of the last parallel unit (dial code ). Directly connect to the last
parallel unit if only one unit is connected.

Related product manuals