EasyManua.ls Logo

Midea MGCSL-F30W/RN1 - Page 112

Midea MGCSL-F30W/RN1
174 pages
Print Icon
To Next Page IconTo Next Page
To Next Page IconTo Next Page
To Previous Page IconTo Previous Page
To Previous Page IconTo Previous Page
Loading...
Air-cooled modular chiller unit 50Hz MCAC-ATSM-2011-12
114
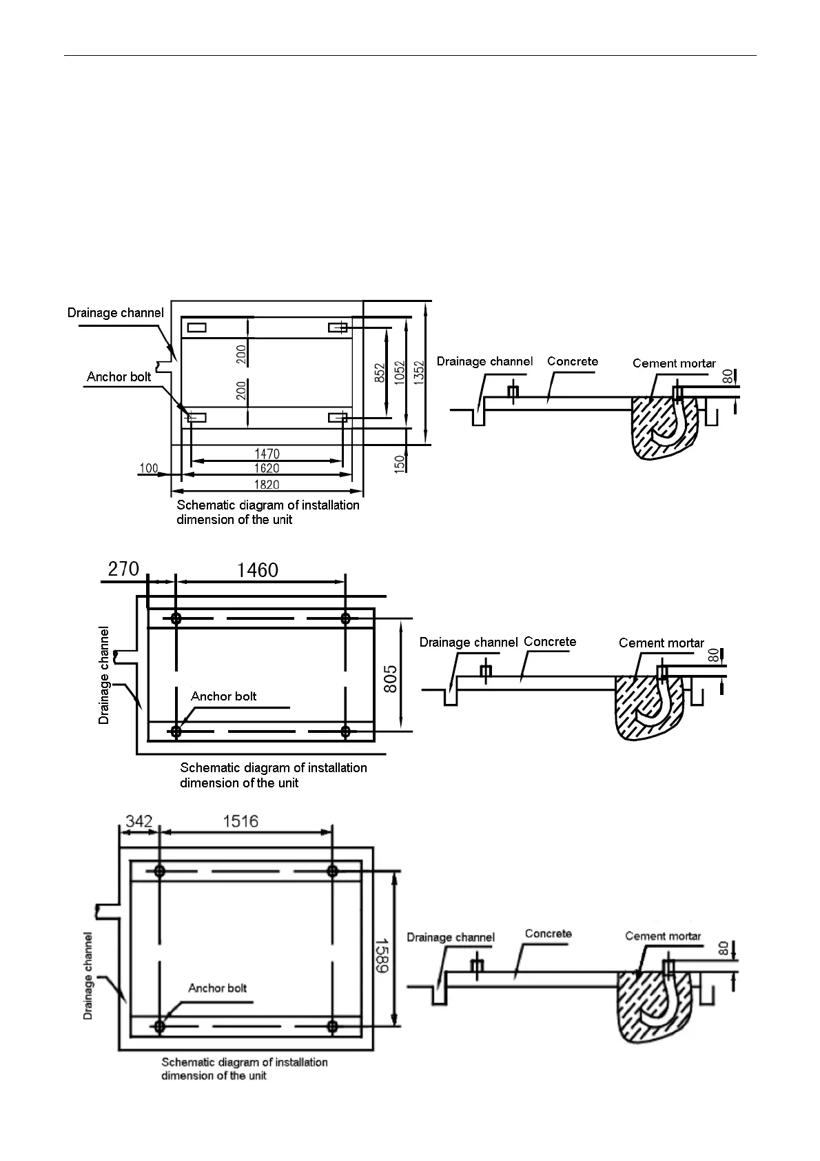
12.1.3 Installation Foundation
The unit should be located on the horizontal foundation, the ground floor or the roof which can bear
operating weight of the unit and the weight of maintenance personnel. Refer to the operating weight
parameters in specification table.
If the unit is located so high that it is inconvenient for maintenance personnel to conduct maintenance,
the suitable scaffold can be provided around the unit.
The scaffold must be able to bear the weight of maintenance personnel and maintenance facilities.
The bottom frame of the unit is not allowed to be embedded into the concrete of installation foundation.
Location drawing of installation foundation of the unit (unit: mm)
25/30kw module
55/60/65kw module
130kwmodule

Related product manuals