EasyManua.ls Logo

Midea MHG-60HWFN1-MW - Page 52

Midea MHG-60HWFN1-MW
247 pages
Print Icon
To Next Page IconTo Next Page
To Next Page IconTo Next Page
To Previous Page IconTo Previous Page
To Previous Page IconTo Previous Page
Loading...
49
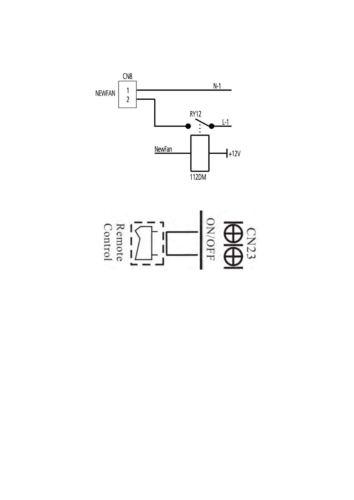
4. The new fresh motor will be worked when the indoor fan motor work ;when the indoor fan motor
stops , the new fresh motor would be stopped ;
5. When the unit enter force cooling mode or capacity testing mode, the fresh motor isn’t work .
MUEU-18HRFN1-M(C), MUEU-24HRFN1-M(C), MUE-36HRFN1-M(C), MUE-48HRFN1-M(C),
MUE-60HRFN1-MW
A For remote control (ON-OFF) terminal port CN23
1. Remove the short connector in CN23 when you use ON-OFF function;
2. When remote switch off (OPEN), the unit would be off;
3. When remote switch on (CLOSE), the unit would be on;
4. When close/open the remote switch, the unit would be responded the demand within 2 seconds;
5. When the remote switch on. You can use remote controller/wire controller to select the mode what you
want; when the remote switch off, the unit would not respond the demand from remote controller/wire
controller.
When the remote switch off, but the remote controller/wire controller are on, CP code would be shown on
the display board.
6. The voltage of the port is 12V DC, design Max. current is 5mA.

Table of Contents

Related product manuals