EasyManua.ls Logo

Midea MTA-18WN1 - Page 124

Midea MTA-18WN1
129 pages
To Next Page IconTo Next Page
To Next Page IconTo Next Page
To Previous Page IconTo Previous Page
To Previous Page IconTo Previous Page
Loading...
MCAC-UTSM-201707 Midea Tropical R410A High Efficient Duct Technical Manual 50Hz
122
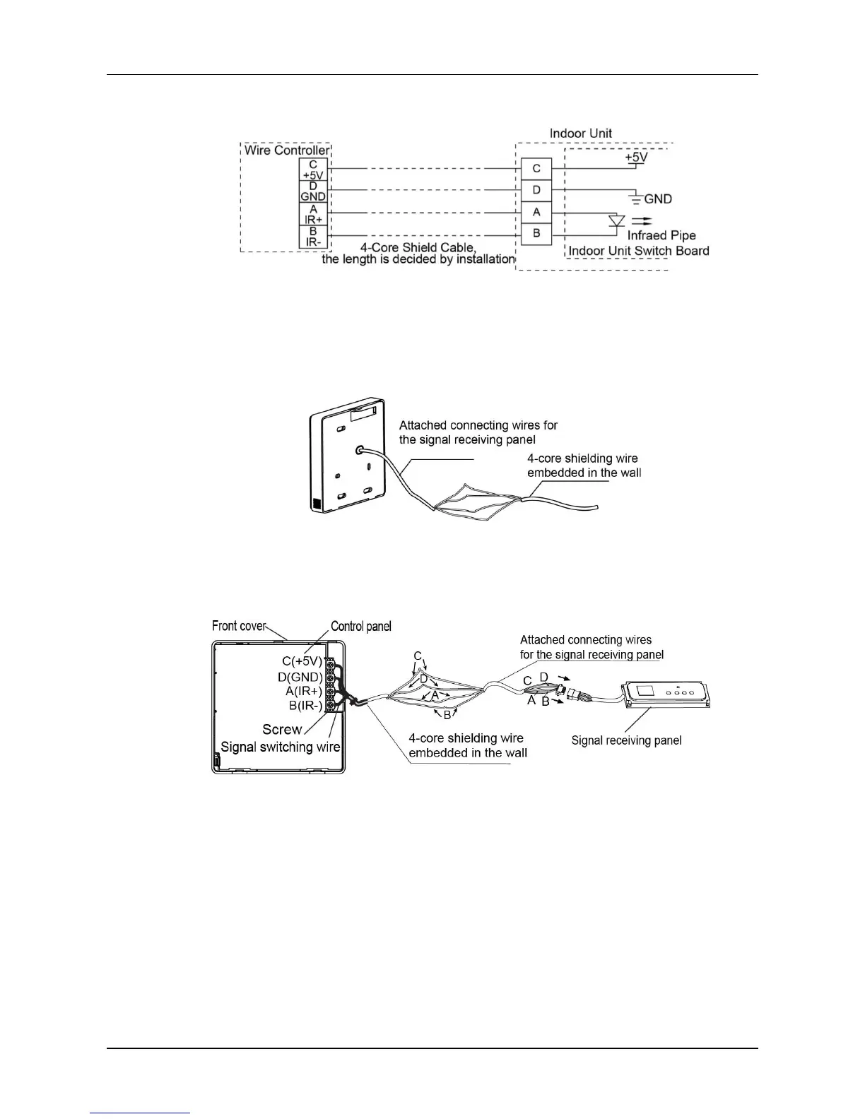
Wiring principle sketch:
Wiring figure:
Connect two terminals of embedded 4-core shielding wire with the switching wires of wired
controller and signal receiving board. Make sure the sequence of 4 terminals (A, B, C and D)
should correspond to the wire sequence of signal switching wires (A, B, C and D).
If the embedded 4-core shielding wire cannot go through the wired controller, it can use
signal switching for connection; make sure the wires are reliable and firm.
The tightening torque range of screw is: 0.8~1.2N·m (8~12kgf·cm).
Wired controller back cover installation
Use straight head screwdriver to insert into the buckling position in the bottom of wired
controller, and spin the screwdriver to take down the back cover. Pay attention to spinning
direction, otherwise will damage the back cover.

Related product manuals