EasyManua.ls Logo

Midland A-1075 - Valve Details - Flat-Face Series

Midland A-1075
42 pages
Print Icon
To Next Page IconTo Next Page
To Next Page IconTo Next Page
To Previous Page IconTo Previous Page
To Previous Page IconTo Previous Page
Loading...
A-1000, Rev. 3.2
Page 9
!
of 42
Manual content is subject to change.
Visit midlandmfg.com for latest manual revision and revision history.
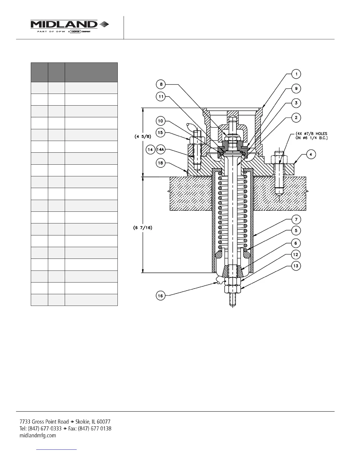
2.2! Valve Details Flat-Face Series
ITEM
QTY.
PART NAME
G!
G!
AM8!Ca;?Z!
H!
G!
/AZX!
6!
G!
#ZAU;NZ#!
L!
G!
iM?m!
Q!
G!
/8#;NC!
<!
G!
DMIIM7Z#!
T!
G!
/8#;NC!Ca;?Z!AaiZ!
k!
G!
AM8!IMSjNaA!
E!
G!
7U/bZ#!
G[!
G!
/ZUA!MB#;NC!
GG!
G!
/AZX!MB#;NC!
GH!
G!
U?na/AXZNA!NaA!
G6!
G!
IMSjNaA!
GL!
H!
/Aa?!
GLU!
H!
/Aa?!7ebMIZ!
GQ!
L!
NaA!
G<!
H!
7;#Z!/ZUI!j;A!
GT!
@!
@!
Gk!
G!
NUXZ!8IUAZ!
A(R'$!HBQ!=('>$!S+4K+,$,)-! ! ! D*%&3$!HBH!=('>$!S(''+&)-!(,.!?*4$,-*+,-!
!

Related product manuals