EasyManua.ls Logo

Miele DA 2250 - Silencer

Miele DA 2250
40 pages
Print Icon
To Next Page IconTo Next Page
To Next Page IconTo Next Page
To Previous Page IconTo Previous Page
To Previous Page IconTo Previous Page
Loading...
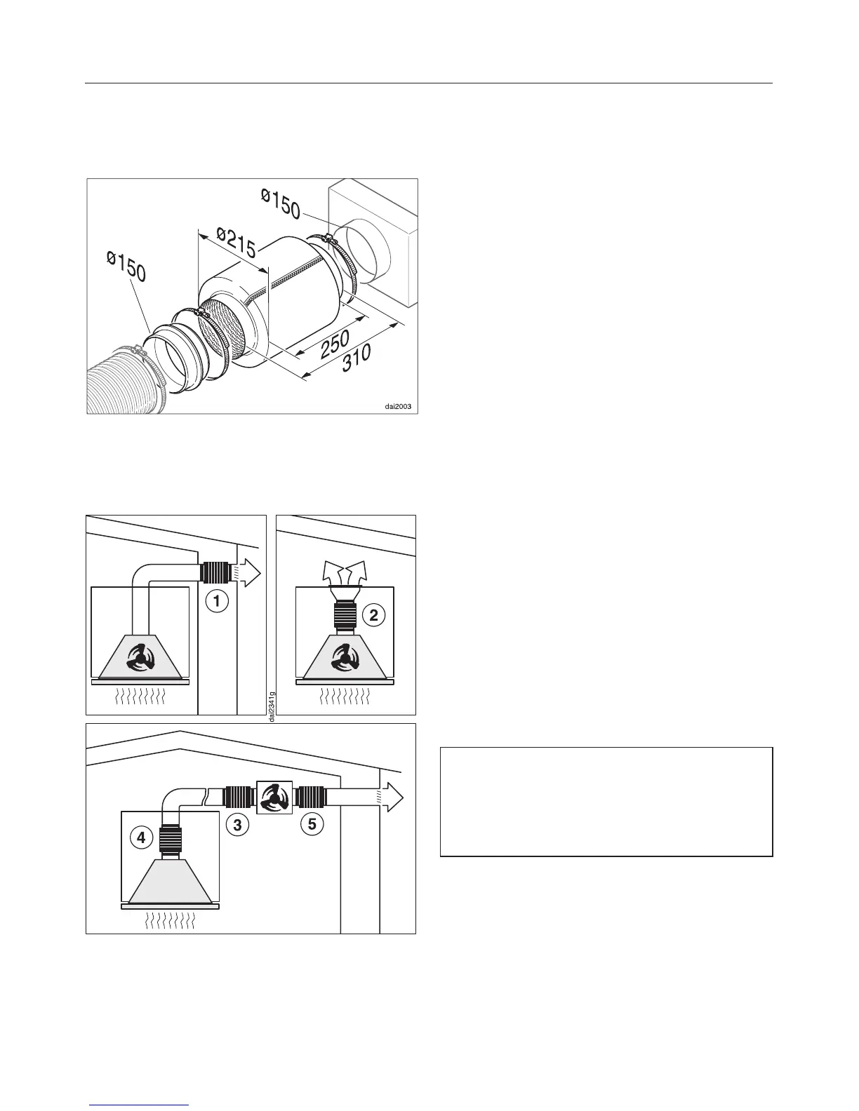
Silencer
(optional accessory)
To achieve even further reductions in
noise levels, a special silencer can be
fitted in the ducting system.
...with air extraction:
The silencer not only reduces noise
from the fan, but also sounds from
outside (e.g. traffic noise).
For this reason the silencer must be
positioned as close as possible to where
the ducting leaves the building a.
...in recirculation mode:
The silencer needs to be positioned
between the fan and the exhaust grille
b. The space needs to be checked in
some cases.
...air extraction with external fan:
To minimise noise from the fan in the
kitchen, the silencer should be
positioned in front of the external fan c
if possible, or if the ducting is long, then
in the ducting inside the cooker hood
itself d.
In the case of an external fan placed
inside the house, fitting a silencer
behind the external fan e reduces the
noise of the fan outside the house.
In all modes of operation, the most
effective noise reductions are
achieved if two silencers are fitted in
the system.
Connection for air extraction
35

Other manuals for Miele DA 2250

Related product manuals