EasyManua.ls Logo

Miele DA 329 i EXT - Appliance Dimensions

Miele DA 329 i EXT
40 pages
Print Icon
To Next Page IconTo Next Page
To Next Page IconTo Next Page
To Previous Page IconTo Previous Page
To Previous Page IconTo Previous Page
Loading...
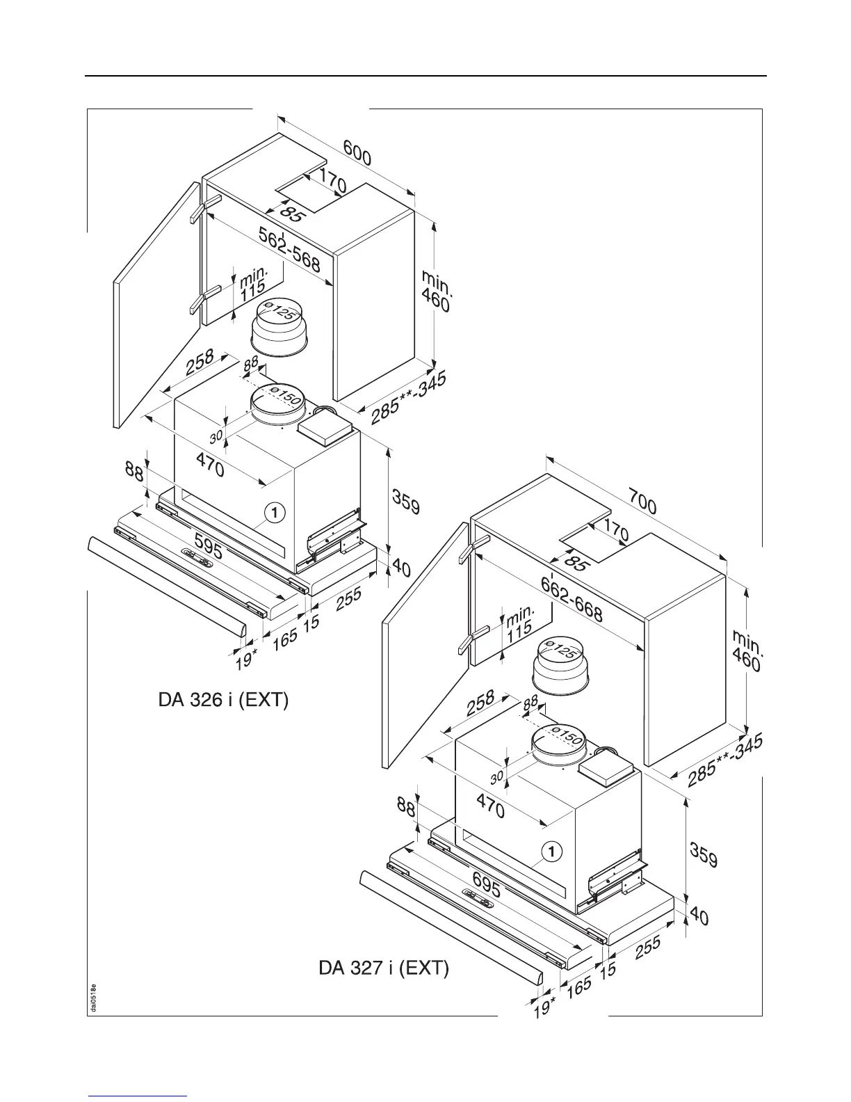
Appliance dimensions
Appliance dimensions
18