EasyManua.ls Logo

Miele G 5220 - Page 65

Miele G 5220
68 pages
Print Icon
To Next Page IconTo Next Page
To Next Page IconTo Next Page
To Previous Page IconTo Previous Page
To Previous Page IconTo Previous Page
Loading...
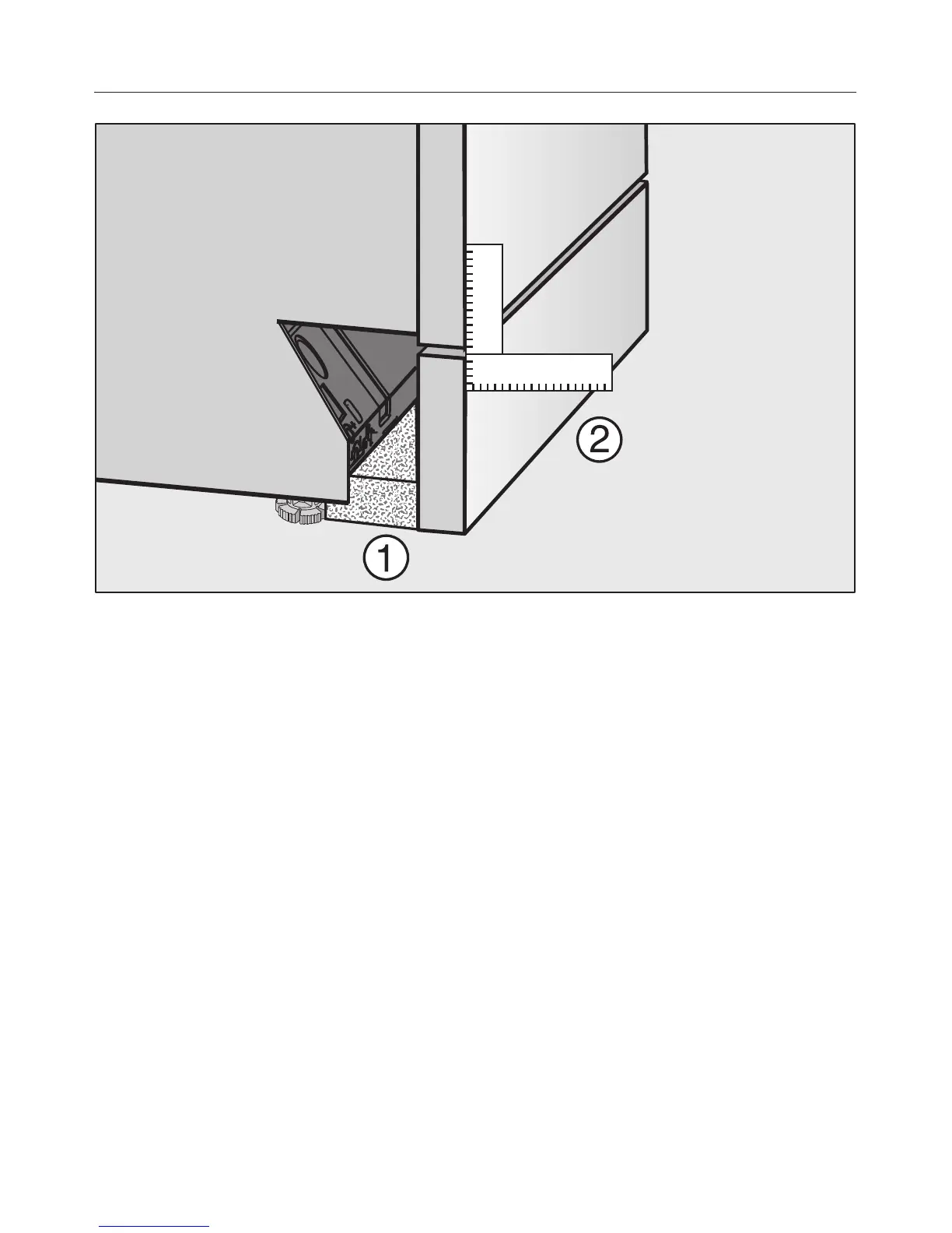
^ Push the insulation mat supplied (depending on model) under the plinth until it
is up against the appliance feet a.
^ Attach the toe-kick so that it is flush with the door front b.
Noise measurement
65

Table of Contents

Related product manuals