EasyManua.ls Logo

Miele G4780 - Page 75

Miele G4780
80 pages
Print Icon
To Next Page IconTo Next Page
To Next Page IconTo Next Page
To Previous Page IconTo Previous Page
To Previous Page IconTo Previous Page
Loading...
Sound emission testing
75
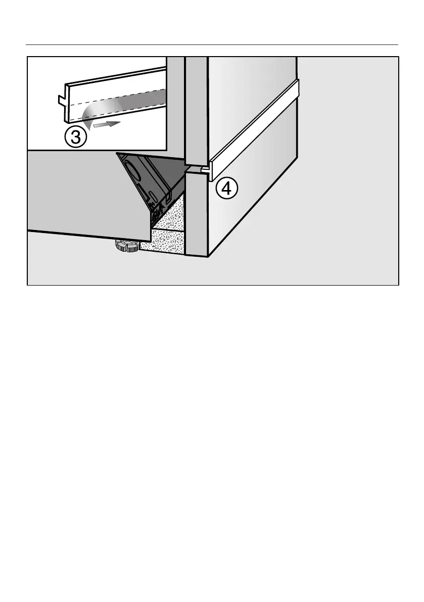
Remove the protective film from the provided insulating strip (depending on
model) .
Push the insulating strip into the front top edge of the toe-kick .

Table of Contents

Related product manuals