EasyManua.ls Logo

Miele KM 89-2 - Page 18

Miele KM 89-2
20 pages
Print Icon
To Next Page IconTo Next Page
To Next Page IconTo Next Page
To Previous Page IconTo Previous Page
To Previous Page IconTo Previous Page
Loading...
Installation instructions
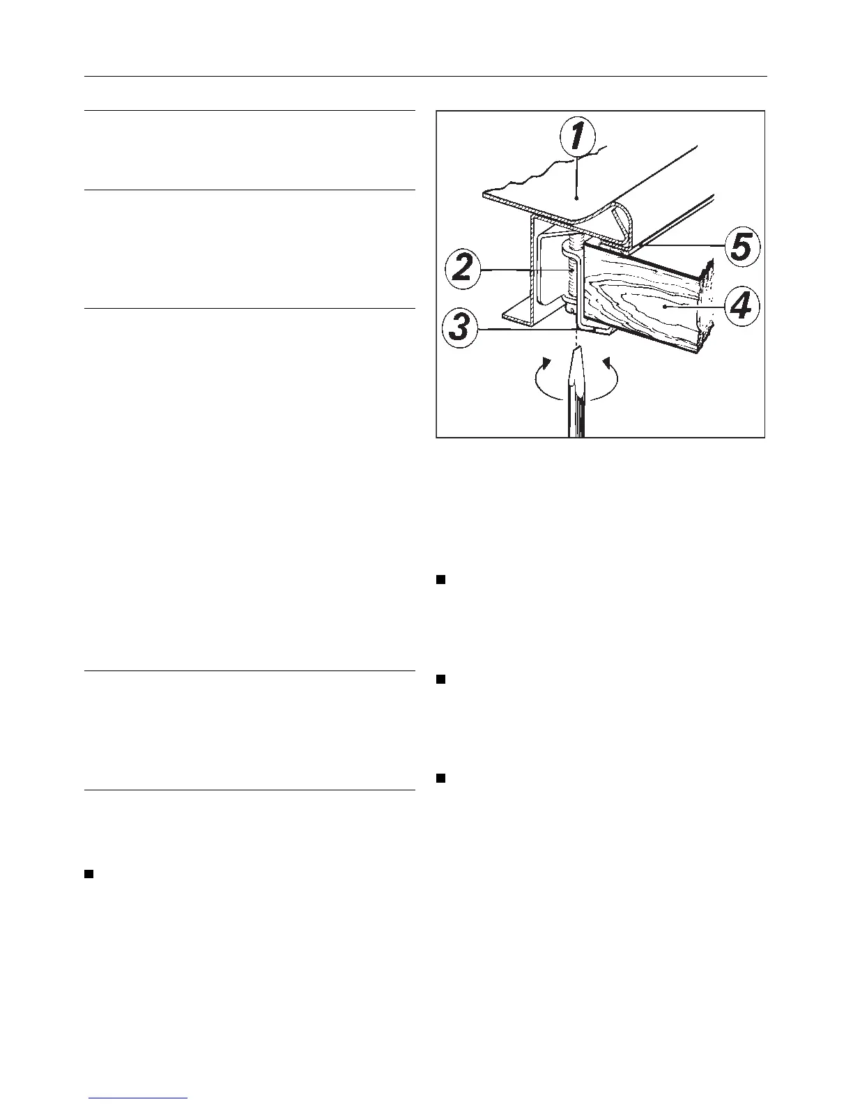
Place the provided seal
f
under the
edge of the Deep Fryer.
b Appliance
c Tensioning screw
d Clamp
e Countertop
f Seal
Turn the tensioning screws c
counter clockwise until a resistance
is felt, then turn the clamps
d to the
left.
Place the appliance into position,
turn the clamps and tighten the ten-
sioning screw until the clamps press
into the countertop
e
, as shown.
Connect the appliance to the electri-
cal supply.
When installing several Combiset units,
a stainless steel spacer bar must be
placed between the units. It is supplied
with its own installation instructions.
Depth
in
inch
Width *
(= Dimen-
sion B)
in inch
2 zone Combiset
1 Combiset
2 Combisets
3 Combisets
4 Combisets
5 Combisets
19-5/16"
19-5/16"
19-5/16"
19-5/16"
19-5/16"
10-7/16"
22"
33-1/2"
45-1/32"
56-9/16"
4 zone Combiset
1 Combiset
2 Combisets
3 Combisets
19-5/16"
19-5/16"
19-5/16"
22"
45"
68"
Combination
One 2 zone
+ one 4 zone
Two 2 zone
+ one 4 zone
Three 2 zone
+ one 4 zone
One 2 zone
+ two 4 zone
Two 2 zone
+ two 4 zone
19-5/16"
19-5/16"
19-5/16"
19-5/16"
19-5/16"
33-1/2"
45"
56-9/16"
56-1/2"
68-1/16"
Extractor (e.g. DA 8-2)
For building in between two appliances:
- Dimension B increases by 3 9/16".
For building in at the end of a combination:
- Dimension B increases by 3 7/8".
* Width includes provision for V 98 spacer bar
.
loosen
tighten
Installation instructions
18

Related product manuals