EasyManua.ls Logo

Miele KM 89-2 - Description of the Appliance

Miele KM 89-2
20 pages
Print Icon
To Next Page IconTo Next Page
To Next Page IconTo Next Page
To Previous Page IconTo Previous Page
To Previous Page IconTo Previous Page
Loading...
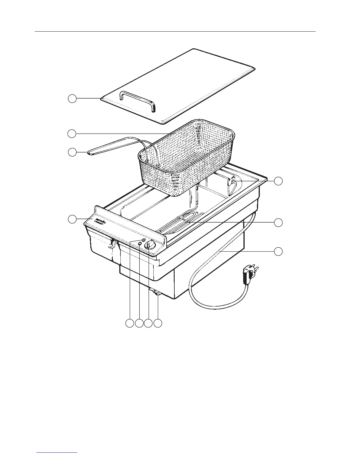
Description of the appliance
1
2
3
4
5
6
7
89
1011
Description of the appliance
2

Related product manuals