EasyManua.ls Logo

Miele PT 7138 Plus - Exhaust Connection with a Flexible Exhaust Hose or Rigid Pipe

Miele PT 7138 Plus
64 pages
Print Icon
To Next Page IconTo Next Page
To Next Page IconTo Next Page
To Previous Page IconTo Previous Page
To Previous Page IconTo Previous Page
Loading...
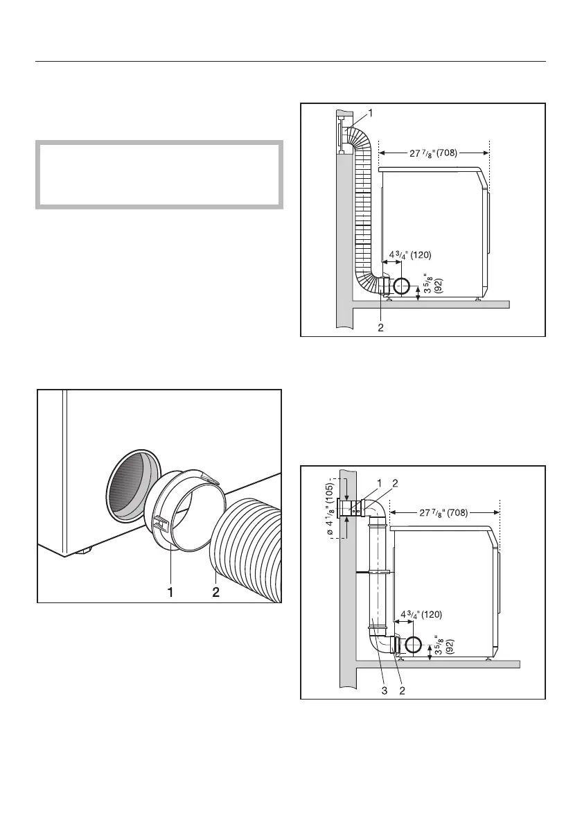
Exhaust connection with a
flexible exhaust hose or rigid
pipe
Using the connector supplied, an
exhaust hose (4" [100 mm]
diameter) can be installed.
Necessary materials:
the supplied connector
a wall or window duct (optional
accessory)
an exhaust hose made of approved
non-flammable material.
rigid pipe is more suitable for long
ducts (less friction)
^
Install the connector, 1, with the
exhaust hose or pipe, 2, to the dryer.
Window connection
1 Window connection (installed in an
"plexiglass" pane)
2 Connector for the flexible exhaust
hose
Wall connection with rigid pipe
1 Wall pipe
2 Connector
3 Rigid pipe
Installation of exhaust venting
47

Related product manuals