EasyManua.ls Logo

Miele T 6185

Miele T 6185
20 pages
To Next Page IconTo Next Page
To Next Page IconTo Next Page
To Previous Page IconTo Previous Page
To Previous Page IconTo Previous Page
Loading...
Notes for the installer Customer service
The machine must not be operated with a
different kind of gas.
All removable outer housing parts must be re-
fitted after the gas connection has been made.
Do not attempt to undertake any repairs to gas
heated machines yourself. Repairs must only
be carried out by suitably competent persons
to ensure safety, e.g. gas engineers must be
registered. Please consult the Miele Cus-
tomer Service department or an author-
ized Service dealer.
Coin operation unit.
The dryer can be fitted with a coin operation
unit*. The appropriate adapter* is also re-
quired.-
The re-programming of the dryer which is
necessary for fitting a coin unit can only be car-
ried out by the Miele Service department or a
Miele authorised service dealer.
All parts marked with an * are available from
Miele Spare Parts department and some Miele
dealers.
Noise level
registered on the A scale
T 6185 63.6 dB
(measured in Germany in accordance with
DIN (IEC) 45 635 machine noise regulation 3,
GSGV § 1 1.a).
Should a fault occur please contact your near-
est authorised service department.
The customer service dept requires the Model,
fabrication no., (Fabr.-Nr) and Material no. (M.-
Nr.).
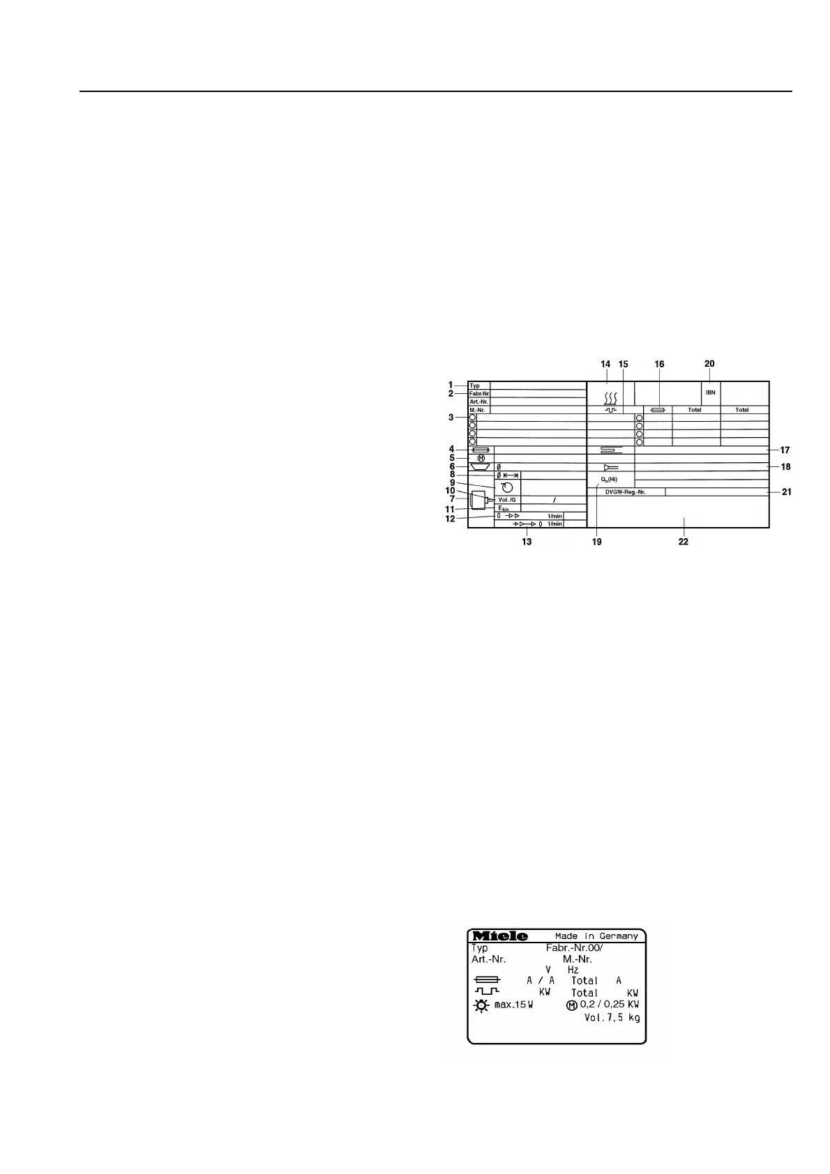
This information can be found on the data
plate, visible with the door open below the
drum aperture, to the right or on the back
of the machine.
Example only:
1 Machine type
2 Serial number of the machine
3 Voltage/Frequency
4 Mains fusing
5Drive motor
6 Plate diameter/Plate qty *
7Drum data
8 Drum diameter/Drum depth *
9 Spin speeds *
10 Drum volume/Laundry dry weight
11 Kinetic Energy *
12 Top running time *
13 Braking time *
14 Heating
15 Electric heating
16 Fusing (on site)
17 Steam heating indirect *
18 Steam heating direct *
19 Gas heating
20 Commissioning date
21 Water-Registration*
22 Space for test certificate / e.g. CE - 0063 (Gas)
or country certificate
* not valid for Tumble Dryers
Data plate: Electric heating
(up to Fabr.-Nr. 46674716)
17 «M.-Nr.04832650/02 - GB - »

Related product manuals