EasyManua.ls Logo

Minolta alpha5 - Page 105

Minolta alpha5
121 pages
Print Icon
To Next Page IconTo Next Page
To Next Page IconTo Next Page
To Previous Page IconTo Previous Page
To Previous Page IconTo Previous Page
Loading...
(2163)A
35
Mi
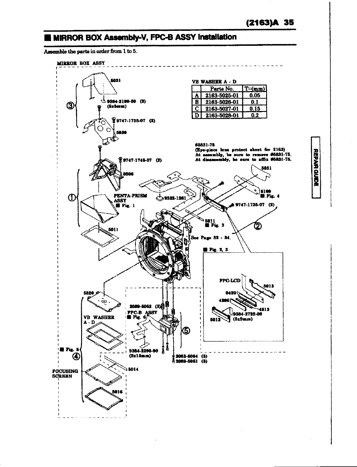
MIRROR
BOX
Assembly-V,
FPC-B
ASSY
installation
Assemble
the
parts
in
order
from
I
to
5.
VE
WASHER
A
-
D
Parts
No.
T=(mm)
2163-5025-01
0.05
2168-5026-61
6.1
2163-5027-01
0.15
2163-5028-01
0.2
lates
joa}
45831-75
(Bye-piece
lena
protect
sheet
for
2165)
At
assembly,
be
sure
to
remove
#5831-75.
At
disassembly,
be
sure
to
affix
#6631-75.
seo
@
Fig.
4
9747-1736-07
(2)
anus
@
FOCUSING
SCREEN
Ow...
ee
'
i
\
!
5616
,
i
'
t
t
t
[
waneuvea
|

Related product manuals