EasyManua.ls Logo

Minolta alpha5 - Page 74

Minolta alpha5
121 pages
Print Icon
To Next Page IconTo Next Page
To Next Page IconTo Next Page
To Previous Page IconTo Previous Page
To Previous Page IconTo Previous Page
Loading...
4
A(2163)
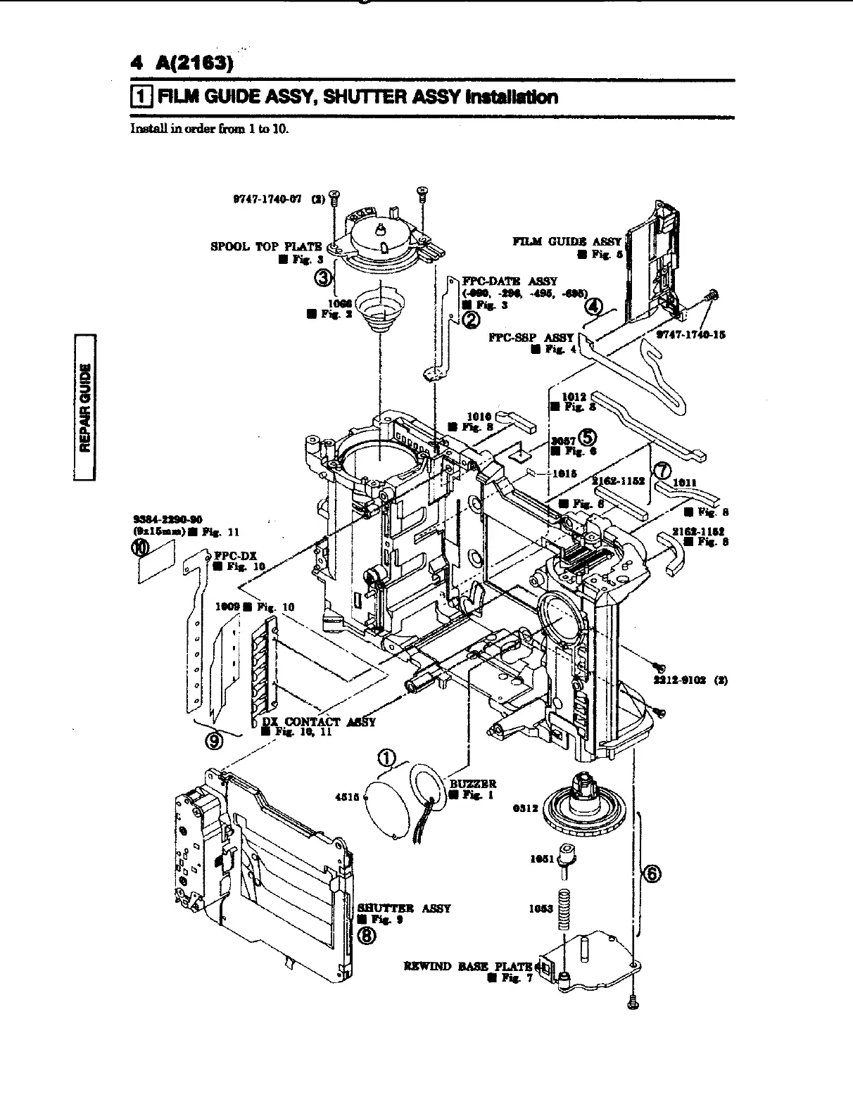
[1]
FILM
GUIDE
ASSY,
SHUTTER
ASSY
installation
Install
in
order
from
1
to
10.
[|
a0mNouwdY
|
9384-2290-90
(x15mm)
Mi
Fig.
11
ee
BEN
STs
a
NAN
@,

Related product manuals