EasyManua.ls Logo

Modena Casella Series - Plumbing Connection

Modena Casella Series
42 pages
Print Icon
To Next Page IconTo Next Page
To Next Page IconTo Next Page
To Previous Page IconTo Previous Page
To Previous Page IconTo Previous Page
Loading...
10
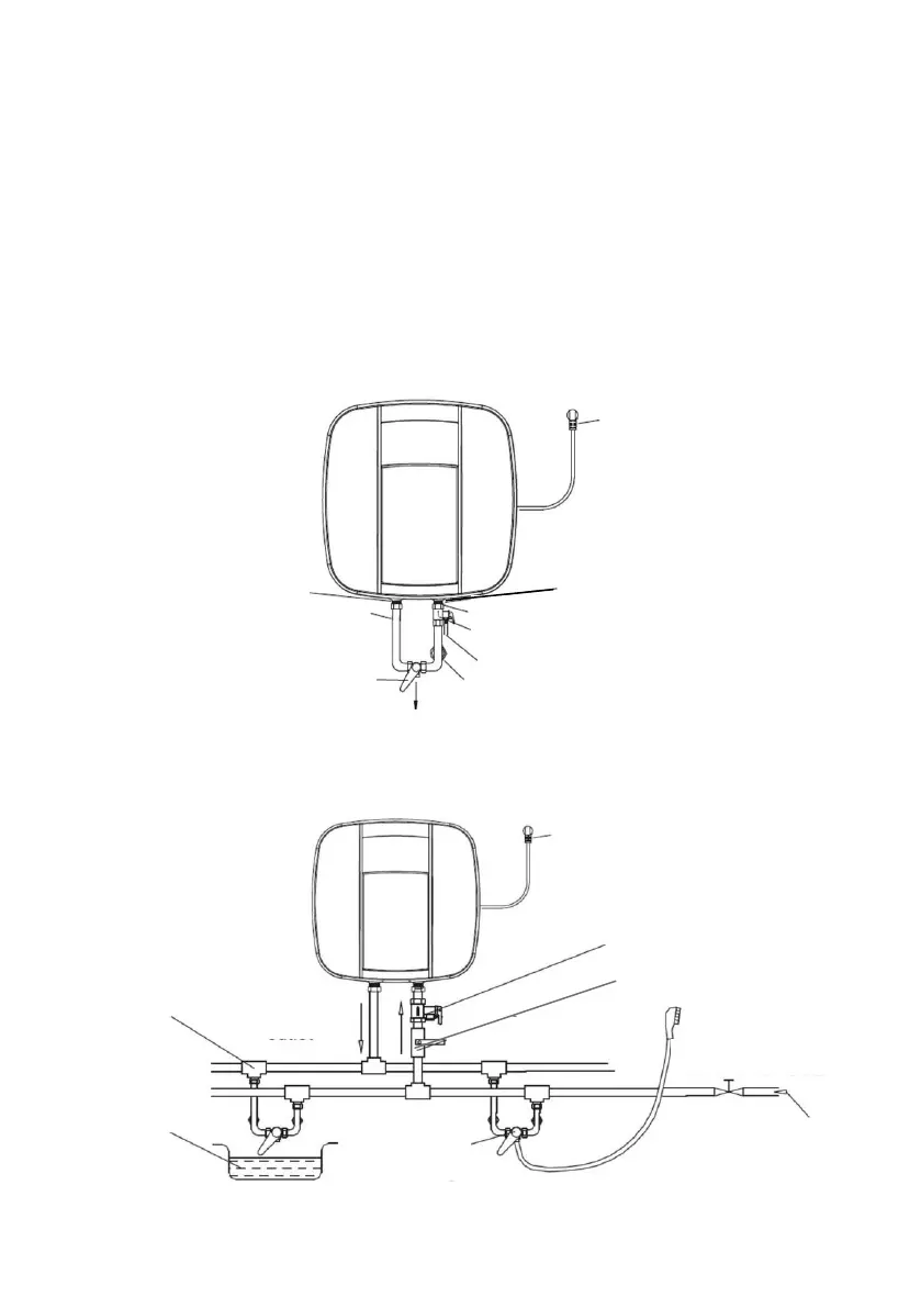
Plumbing Connection
The dimension of each used pipe is G½ (”BSP ½”). The maximum
and minimum pressures of inlet should use Pa (Bar) as the unit.
Connect the pressure relief valve with the water heater on the inlet
of the water heater.
In order to avoid leakage when connecting the plumbing, the
rubber seal gaskets provided with the water heater must be added
at the end of the threads to ensure the connection is leak-proof
(see Picture 8).
If the users want to utilize a multi-ways supply system, refer to the
method shown in the Picture 9 for the connection of the plumbing.
Picture 10
Picture 9
Picture 8
Power Cord
Rubber Seal Gasket
Cold Water Inlet Pipe
Joint Screw for Cold Water Inlet
Hot Water
Rubber Seal Gasket
Hot Water Inlet
Handle for Mixing
Valve
Power Cord
Pressure Relief Valve
Water Inlet Pipe
Shower
Water Inlet Valve
Mixing Valve
Running Water
Pipe
Hot Water
Outlet
Triple Joint
Basin/
Water-pool
Pressure Relief Valve
Pressure Relief Hole
Cold Water
Inlet

Related product manuals