EasyManua.ls Logo

Monster Power MPA 2250 - Page 25

Monster Power MPA 2250
37 pages
Print Icon
To Next Page IconTo Next Page
To Next Page IconTo Next Page
To Previous Page IconTo Previous Page
To Previous Page IconTo Previous Page
Loading...
21
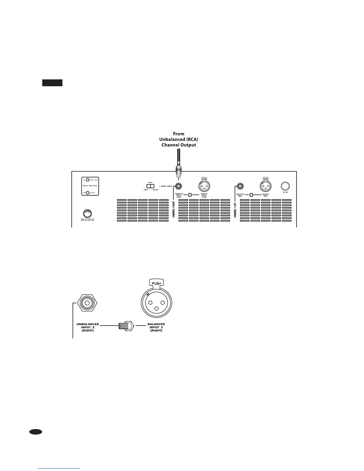
MPA 2250 BRIDGED MONO CONNECTIONS
The MPA 2250 is designed to be used in a 2 channel system; in some of these systems more power may be required.
In that case, two MPA 2250 amplifiers can be used in bridged mono mode which doubles the power output
of the amplifiers. The following diagram shows how to make the connections.
STEP 1 Unbalanced RCA Connections
1. Connect one end of the unbalanced RCA type interconnect to the preamp output
of your receiver/preamp.
2. Connect the other end of the unbalanced interconnect to the right channel input on the MPA 2250.
3. Set Input Type Switch towards the Unbalanced Input.

Related product manuals